LEMON Manuals: Even more car manuals for everyone: 1960-2025
Home >> Mitsubishi >> 2012 >> Eclipse GS, Automatic Trans >> Repair and Diagnosis (Single Page) >> Transmission >> Automatic Trans >> Automatic Transaxle Diagnosis & On-Vehicle Service >> Transaxle Assembly >> Removal And Installation >> Removal Service Points >> <<E>> Engine Assembly Supporting
April 5, 2026: LEMON Manuals is launched! Read the announcement.

<<E>> Engine Assembly Supporting

  1. <Engine hanger MB991895 is used>
    1. Set special tool MB991895 to the front fender mounting bolts (A and B) and the radiator support upper insulator mounting bolts (C and D), which are located in the engine compartment, as shown in the illustration.
      Fig 1: Locating Front Fender Mounting Bolts Radiator Support Upper Insulator Mounting Bolt
      G04230151Courtesy of MITSUBISHI MOTOR SALES OF AMERICA.
    2. Set special tool MB991527 and MB991454 (chain) to hold the engine/transaxle assembly.
      Fig 2: Holding Engine/Transaxle Assembly
      G06687823Courtesy of MITSUBISHI MOTOR SALES OF AMERICA.
  2. <Engine hanger MB991928 is used>
    1. Assemble the engine hanger (special tool MB991928). Set following parts to the base hanger.
      • Slide bracket (HI)
      • Foot (standard) (MB991932)
      • Joint (140) (MB991931)
        Fig 3: Special Tool MB991928
        G05093260Courtesy of MITSUBISHI MOTOR SALES OF AMERICA.
    2. Set the engine hanger (special tool MB991928) to the front fender mounting bolts (A and B) and the radiator support upper insulator mounting bolts (C and D), which are located in the engine compartment, as shown in the illustration.
      NOTE: Adjust the engine hanger balance by sliding the slide bracket (HI).
      Fig 4: Locating Radiator Support Upper Insulator Mounting Bolts
      G04230151Courtesy of MITSUBISHI MOTOR SALES OF AMERICA.
    3. Set special tools MB991527 and MB991454 (chain) to hold the engine/transaxle assembly.
      Fig 5: Holding Engine/Transaxle Assembly
      G06687824Courtesy of MITSUBISHI MOTOR SALES OF AMERICA.


  1. Remove the engine hanger.
    Fig 1: Engine Hanger
    G05102675Courtesy of MITSUBISHI MOTOR SALES OF AMERICA.
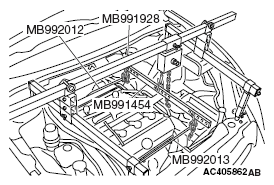
  2. After removing the intake manifold plenum stay (rear) and the engine hanger, set special tool MB992012 and MB992013 to each cylinder head.
    Fig 2: Special Tool MB992012 And MB992013
    G05093253Courtesy of MITSUBISHI MOTOR SALES OF AMERICA.
  3. <If engine hanger MB991895 is used>
    1. Set special tool MB991895 to the front fender mounting bolts (A and B) and the radiator support upper insulator mounting bolts (C and D), which are located in the engine compartment, as shown in the illustration.
      Fig 3: Locating Front Fender Mounting Bolts And Radiator Support Upper Insulator Mounting Bolts
      G04230151Courtesy of MITSUBISHI MOTOR SALES OF AMERICA.
    2. Set special tool MB991454 to hold the engine/transaxle assembly.
      Fig 4: Holding Engine/Transaxle Assembly
      G05102678Courtesy of MITSUBISHI MOTOR SALES OF AMERICA.
  4. <If engine hanger MB991928 is used>
    1. Assemble the engine hanger (special tool MB991928). Set the following parts to the base hanger.
      • Slide bracket (HI)
      • Foot (standard) (MB991932)
      • Joint (140) (MB991931)
        Fig 5: Special Tool MB991928
        G05093260Courtesy of MITSUBISHI MOTOR SALES OF AMERICA.
    2. Set the engine hanger (special tool MB991928) to the front fender mounting bolts (A and B) and the radiator support upper insulator mounting bolts (C and D), which are located in the engine compartment, as shown in the illustration.
      NOTE: Adjust the engine hanger balance by sliding the slide bracket (HI).
      Fig 6: Locating Front Fender Mounting Bolts And Radiator Support Upper Insulator Mounting Bolts
      G04230151Courtesy of MITSUBISHI MOTOR SALES OF AMERICA.
    3. Set special tool MB991454 to hold the engine/transaxle assembly.
      Fig 7: Holding Engine/Transaxle Assembly
      G05093255Courtesy of MITSUBISHI MOTOR SALES OF AMERICA.