LEMON Manuals: Even more car manuals for everyone: 1960-2025
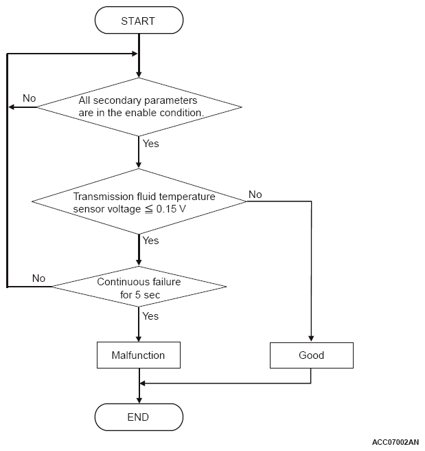
Home >> Mitsubishi >> 2019 >> Eclipse Cross SP >> Repair and Diagnosis (Single Page) >> Transmission >> Automatic Trans >> Continuously Variable Transaxle (CVT) (With Diagnostics) >> Diagnosis <CVT> >> Diagnostic Trouble Code Procedures >> DTC P0712: Malfunction Of Transmission Fluid Temperature Sensor (Low Input) >> Logic Flow Charts (Monitor Sequence)
April 5, 2026: LEMON Manuals is launched! Read the announcement.

Logic Flow Charts (Monitor Sequence)

G10229987Courtesy of MITSUBISHI MOTOR SALES OF AMERICA.