LEMON Manuals: Even more car manuals for everyone: 1960-2025
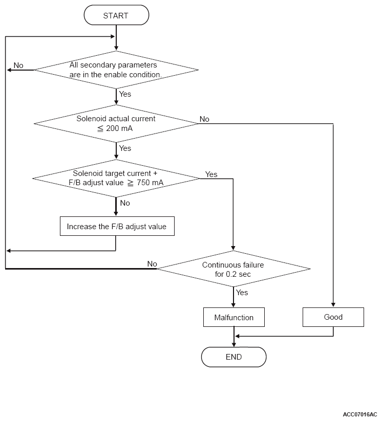
Home >> Mitsubishi >> 2019 >> Eclipse Cross SP >> Repair and Diagnosis (Single Page) >> Transmission >> Automatic Trans >> Continuously Variable Transaxle (CVT) (With Diagnostics) >> Diagnosis <CVT> >> Diagnostic Trouble Code Procedures >> DTC P2721: Malfunction Of Select Pressure Solenoid Valve (High Input) >> Logic Flow Charts (Monitor Sequence)
April 5, 2026: LEMON Manuals is launched! Read the announcement.

Logic Flow Charts (Monitor Sequence)

G10230005Courtesy of MITSUBISHI MOTOR SALES OF AMERICA.