LEMON Manuals: Even more car manuals for everyone: 1960-2025
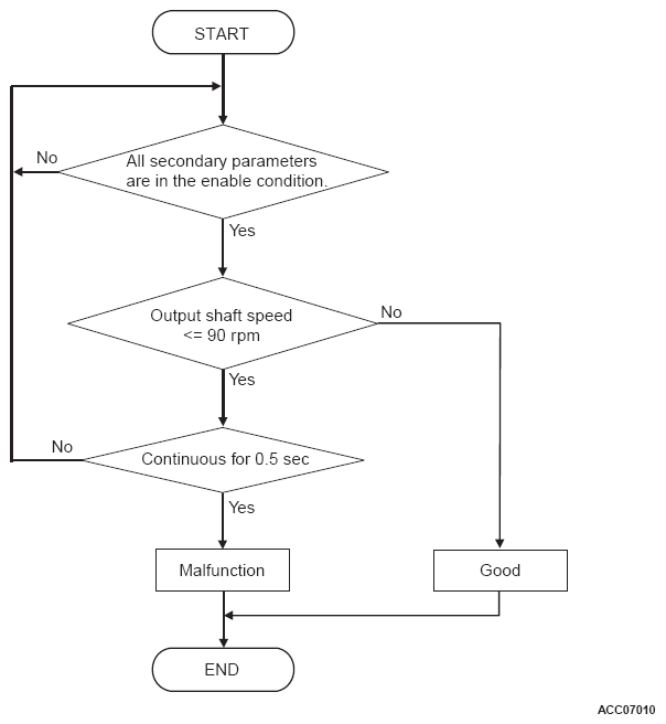
Home >> Mitsubishi >> 2021 >> Mirage LE >> Repair and Diagnosis >> Transmission >> Automatic Trans >> Continuously Variable Transaxle (CVT) >> Diagnosis >> Diagnostic Trouble Code Procedures >> DTC P0720: Malfunction of Output Speed Sensor >> LOGIC FLOW CHARTS (Monitor Sequence-Input Open Circuit)
April 5, 2026: LEMON Manuals is launched! Read the announcement.

LOGIC FLOW CHARTS (Monitor Sequence-Input Open Circuit)

G11278233Courtesy of MITSUBISHI MOTOR SALES OF AMERICA.