LEMON Manuals: Even more car manuals for everyone: 1960-2025
Home >> Mitsubishi >> 2021 >> Mirage LE >> Repair and Diagnosis >> Transmission >> Automatic Trans >> Continuously Variable Transaxle (CVT) >> Diagnosis >> Diagnostic Trouble Code Procedures >> DTC P170E: ASC Error Information >> LOGIC FLOW CHARTS (Monitor Sequence)
April 5, 2026: LEMON Manuals is launched! Read the announcement.

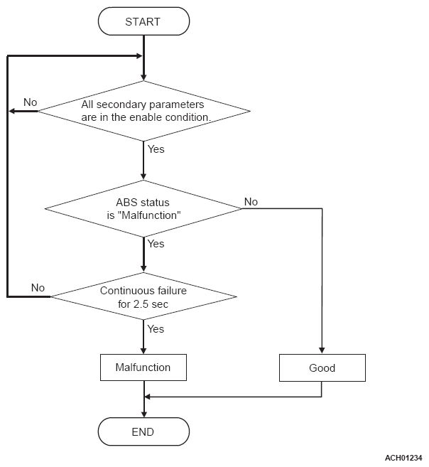
LOGIC FLOW CHARTS (Monitor Sequence)

G12361613Courtesy of MITSUBISHI MOTOR SALES OF AMERICA.