LEMON Manuals: Even more car manuals for everyone: 1960-2025
Home >> Mitsubishi >> 2024 >> Outlander ES, AWD >> Repair and Diagnosis >> Engine Performance >> System >> Engine Control System >> Basic Inspection >> How To Erase Permanent DTC >> Work Procedure (Group A)
April 5, 2026: LEMON Manuals is launched! Read the announcement.

Work Procedure (Group A)

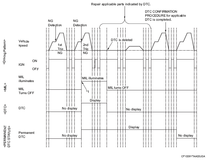
G16071147Courtesy of MITSUBISHI MOTOR SALES OF AMERICA.
*1: When the same malfunction is detected in two consecutive trips, MIL will illuminate.
  1. CHECK DTC 

    Check DTC.

    Is any DTC detected? 

    YES >>

    Repair malfunction(s) and erase DTC. Refer to "DTC Index" of each Control module.

    NO >>

    GO TO  2.

  2. CHECK PERMANENT DTC 

    With M.U.T.-III SE

    1. Turn ignition switch OFF and wait at least 10 seconds.
    2. Turn ignition switch ON.
    3. Turn ignition switch OFF and wait at least 10 seconds.
    4. Turn ignition switch ON.
    5. Select "PERMANENT DTC STATUS" mode with M.U.T.-III SE.

    With GST

    1. Turn ignition switch OFF and wait at least 10 seconds.
    2. Turn ignition switch ON.
    3. Turn ignition switch OFF and wait at least 10 seconds.
    4. Turn ignition switch ON.
    5. Select Service $0A with GST.

    Is any permanent DTC detected? 

    YES >>

    GO TO  3.

    NO >>

    END

  3. PERFORM DTC CONFIRMATION PROCEDURE 

    Perform "DTC CONFIRMATION PROCEDURE" for DTCs which are the same as permanent DTCs stored in ECM. Refer to DTC INDEX .

    >>

    GO TO  4.

  4. CHECK PERMANENT DTC 

    With M.U.T.-III SE

    1. Turn ignition switch OFF and wait at least 10 seconds.
    2. Turn ignition switch ON.
    3. Turn ignition switch OFF and wait at least 10 seconds.
    4. Turn ignition switch ON.
    5. Select "PERMANENT DTC STATUS" mode with M.U.T.-III SE.

    With GST

    1. Turn ignition switch OFF and wait at least 10 seconds.
    2. Turn ignition switch ON.
    3. Turn ignition switch OFF and wait at least 10 seconds.
    4. Turn ignition switch ON.
    5. Select Service $0A with GST.

    Is any permanent DTC detected? 

    YES >>

    GO TO  1.

    NO >>

END