LEMON Manuals: Even more car manuals for everyone: 1960-2025
Home >> Nissan-Datsun >> 2003 >> Sentra SE-R Spec V >> Repair and Diagnosis >> External Pages >> Different car >> Section 1675 (Lighting System) >> Headlamp (For CANADA) - Daytime Light System - >> Daytime Light Control Does Not Operate Properly (Normal Headlamps Operate Properly)
April 5, 2026: LEMON Manuals is launched! Read the announcement.

Daytime Light Control Does Not Operate Properly (Normal Headlamps Operate Properly)

WARNING: This page is about a different car, the 2006 Nissan Titan. However, it is still accessible from the selected car via links, so may be relevant.
  1. CHECK DAYTIME LIGHT RELAY POWER SUPPLY CIRCUIT 
    1. Remove daytime light relay.
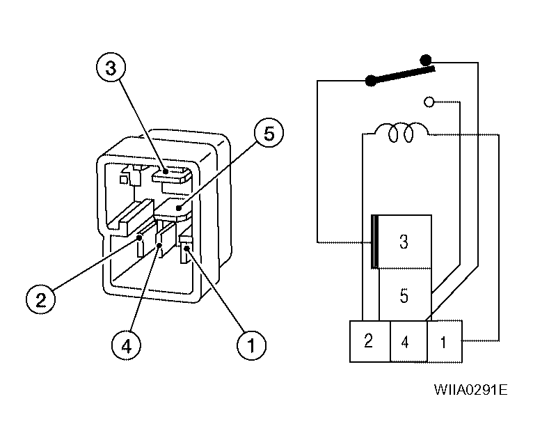
    2. Check voltage between daytime light relay harness connector E103 terminals 2, 5 and ground.
      Fig 1: Checking Voltage Between Daytime Light Relay Harness Connector E103 Terminals 2, 5 And Ground
      G04188572Courtesy of NISSAN MOTOR CO., U.S.A.

      2, 5 - Ground: Battery voltage should exist. 

    OK or NG 

    OK: GO TO 2.

    NG: Repair harness or connector.

  2. CHECK DAYTIME LIGHT RELAY 
    1. Apply battery voltage to daytime light relay terminal 2 and ground terminal 1.
    2. Check continuity between terminals 3 and 5.

      3 - 5: Continuity should exist. 

      Fig 2: Checking Continuity Between Terminals 3 And 5
      G04188573Courtesy of NISSAN MOTOR CO., U.S.A.

    OK or NG 

    OK: GO TO 3.

    NG: Replace daytime light relay.

  3. CHECK DAYTIME LIGHT RELAY CIRCUIT 
    1. Disconnect front combination lamp LH connector.
    2. Check continuity between daytime light relay connector E103 terminal 3 and front combination lamp LH harness connector E11 terminal 3.

      3 - 3: Continuity should exist. 

      Fig 3: Checking Continuity Between Daytime Light Relay Connector E103 Terminal 3 And Front Combination Lamp LH Harness Connector E11 Terminal 3
      G04188574Courtesy of NISSAN MOTOR CO., U.S.A.

    OK or NG 

    OK: GO TO 4.

    NG: Repair harness or connector.

  4. CHECK INPUT SIGNAL 
    1. Connect daytime light relay and front combination lamp LH connector.
    2. Start engine and release parking brake. Headlamp switch OFF.
    3. Select "IPDM E/R" on CONSULT-II. With "DATA MONITOR", make sure "DTRL REQ" turns ON-OFF linked with operation of parking brake switch.
      Fig 4: CONSULT-II Display - DATA MONITOR
      G04188575Courtesy of NISSAN MOTOR CO., U.S.A.

      Parking brake ON: DTRL REQ ON 

      Parking brake OFF: DTRL REQ OFF 

    OK or NG 

    OK: Replace IPDM E/R. Refer to "REMOVAL AND INSTALLATION OF IPDM E/R ".

    NG: GO TO 5.

  5. CHECKING CAN COMMUNICATIONS 

    Select "BCM" on CONSULT-II and perform self-diagnosis for BCM.

    Fig 5: CONSULT II Display - Self-Diag Results
    G04136115Courtesy of NISSAN MOTOR CO., U.S.A.

    Displayed self-diagnosis results 

    NO DTC: Replace BCM. Refer to "BCM ".

    CAN COMM CIRCUIT: Check BCM CAN communication system.

    Refer to "CAN COMMUNICATION INSPECTION USING CONSULT-II (SELF-DIAGNOSIS) ".