LEMON Manuals: Even more car manuals for everyone: 1960-2025
Home >> Nissan-Datsun >> 2004 >> Sentra SE-R Spec V >> Repair and Diagnosis >> External Pages >> Different car >> Section 1604 (Lighting System) >> Headlamp (For CANADA) - Daytime Light System >> Daytime Light Control Does Not Operate Properly (Normal Headlamps Operate Properly)
April 5, 2026: LEMON Manuals is launched! Read the announcement.

Daytime Light Control Does Not Operate Properly (Normal Headlamps Operate Properly)

WARNING: This page is about a different car, the 2005 Nissan Frontier. However, it is still accessible from the selected car via links, so may be relevant.
  1. CHECK DAYTIME LIGHT RELAY 1 POWER SUPPLY CIRCUIT 
    1. Remove daytime light relay 1.
    2. Check voltage between daytime light relay 1 harness connector E103 terminals 2, 5 and ground.

      2, 5 - Ground: Battery voltage should exist. 

    OK or NG 

    • OK: GO TO 2.
    • NG: Repair harness or connector.
      Fig 1: Checking Voltage Between Daytime Light Relay 1 Harness Connector E103 Terminals 2, 5 And Ground
      G03597175Courtesy of NISSAN MOTOR CO., U.S.A.
  2. CHECK DAYTIME LIGHT RELAY 1 
    1. Apply battery voltage to daytime light relay 1 terminal 2 and ground terminal 1.
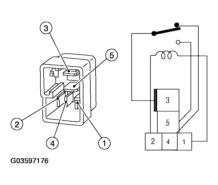
    2. Check continuity between terminals 3 and 5.

      3 - 5: Continuity should exist. 

    OK or NG 

    • OK: GO TO 3.
    • NG: Replace daytime light relay 1.
      Fig 2: Checking Continuity Between Terminals 3 And 5
      G03597176Courtesy of NISSAN MOTOR CO., U.S.A.
  3. CHECK INPUT SIGNAL 
    1. Connect daytime light relay 1.
    2. Start engine and release parking brake. Headlamp switch OFF.
    3. Select "IPDM E/R" on CONSULT-II. With data monitor, make sure "DTRL REQ" turns ON-OFF linked with operation of parking brake switch.

      Parking brake ON: DTRL REQ ON 

      Parking brake OFF: DTRL REQ OFF 

    OK or NG 

  4. CHECKING CAN COMMUNICATIONS 

    Select "BCM" on CONSULT-II and perform self-diagnosis for BCM.

    Displayed self-diagnosis results