LEMON Manuals: Even more car manuals for everyone: 1960-2025
Home >> Nissan-Datsun >> 2004 >> Sentra SE-R >> Repair and Diagnosis >> External Pages >> Different car >> Section 1610 (Transfer Case) >> Transfer Control Device >> Removal and Installation >> Installation
April 5, 2026: LEMON Manuals is launched! Read the announcement.

Removal and Installation: Installation

WARNING: This page is about a different car, the 2005 Nissan Frontier. However, it is still accessible from the selected car via links, so may be relevant.
  1. Install the O-ring to the transfer control device.
    CAUTION:
    • Do not reuse O-ring.
    • Apply petroleum jelly to O-ring.
      Fig 1: Identifying Transfer Control Device O-Ring
      G03595390Courtesy of NISSAN MOTOR CO., U.S.A.
  2. Install the transfer control device.
    1. Turn the control shift rod fully counterclockwise using a flat-bladed screwdriver, and then put a mark on the control shift rod.
      Fig 2: Identifying Mark On The Control Shift Rod
      G03595391Courtesy of NISSAN MOTOR CO., U.S.A.
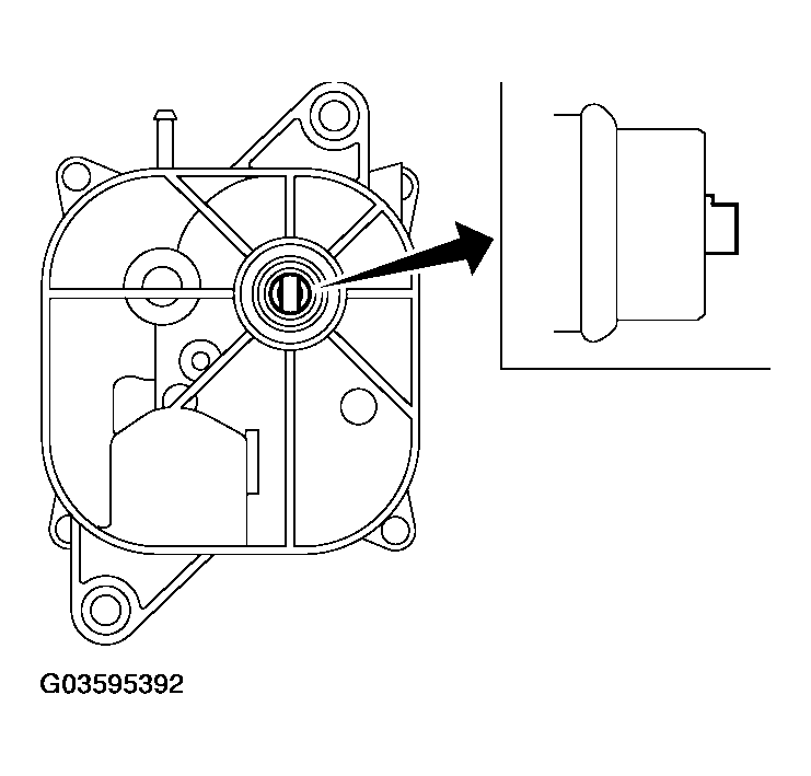
    2. Align the transfer control device shaft cutout with the mark on the control shift rod, and install.
      NOTE: Turn the transfer control device when the transfer control device connection does not match.
      Fig 3: Aligning The Transfer Control Device Shaft Cutout With The Mark On The Control Shift Rod
      G03595392Courtesy of NISSAN MOTOR CO., U.S.A.
    3. Tighten the bolts to the specified torque. Refer to "COMPONENTS ".
  3. Install the breather hose to the transfer control device.
  4. Connect the transfer control device connector.
  5. After the installation, check the 4WD shift indicator pattern. If NG, adjust the position between the transfer assembly and transfer control unit. Refer to "PRECAUTIONS FOR TRANSFER ASSEMBLY AND TRANSFER CONTROL UNIT REPLACEMENT ".
    Fig 4: Identifying Transfer Control Device Bolts
    G03595393Courtesy of NISSAN MOTOR CO., U.S.A.