LEMON Manuals: Even more car manuals for everyone: 1960-2025
Home >> Nissan-Datsun >> 2004 >> Sentra SE-R >> Repair and Diagnosis >> External Pages >> Different car >> Section 631 (Body Control Module - Coupe) >> BCM (Body Control Module) >> System Description >> Combination Switch Reading Function >> Operation Description
April 5, 2026: LEMON Manuals is launched! Read the announcement.

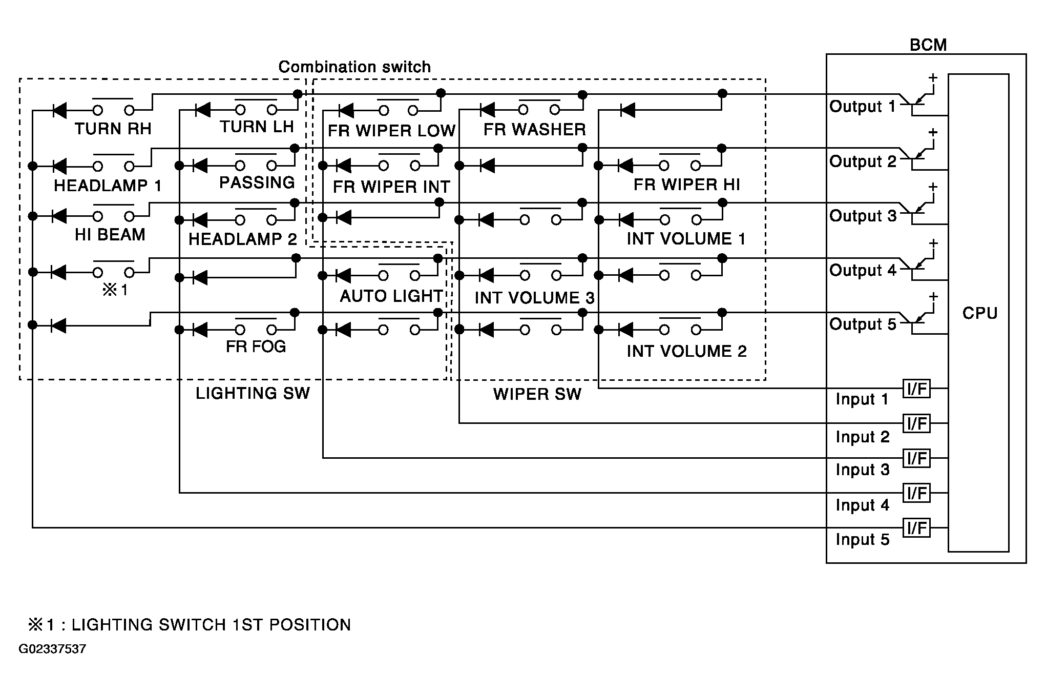
Operation Description

WARNING: This page is about a different car, the 2005 Infiniti G35. However, it is still accessible from the selected car via links, so may be relevant.