LEMON Manuals: Even more car manuals for everyone: 1960-2025
Home >> Nissan-Datsun >> 2016 >> Sentra FE+S >> Repair and Diagnosis >> Steering >> Steering Column >> Steering System >> Unit Disassembly And Assembly >> Steering Gear And Linkage >> Disassembly And Assembly >> Assembly
April 5, 2026: LEMON Manuals is launched! Read the announcement.

Disassembly And Assembly: Assembly

  1. Apply recommended grease to inner socket (A) of gear housing assembly, and install boot to gear housing assembly.
    Fig 1: Grease Application Position
    G08990226Courtesy of NISSAN NORTH AMERICA, INC.

    Use Genuine Lithium Soap, Autorex A (manufactured by Kyodo yushi) or equivalent. 

    CAUTION:

    Do not reuse boot.

    Grease application position (Reference)
    (B) : 10 mm (0.39 in)
  2. Install boot clamp (large diameter) (1) to boot using Tool.
    Fig 2: Installing Boot Clamp (Large Diameter) To Boot Using Boot Band Crimping Tool
    G05370743Courtesy of NISSAN NORTH AMERICA, INC.
    CAUTION:
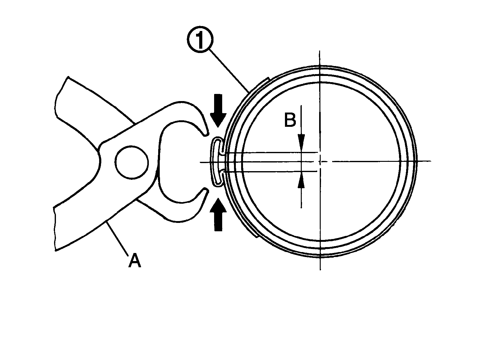
    • Do not reuse boot clamp (large diameter).
    • Install boot clamp (large diameter) securely to boot groove, and crimp it so as to have clearance (B) of 3 mm (0.12 in) or less as shown.
    Tool number (A) : KV40107300 (J-51751)
  3. Install boot clamp (small diameter) to boot.
    CAUTION:

    Do not reuse boot clamp (small diameter).

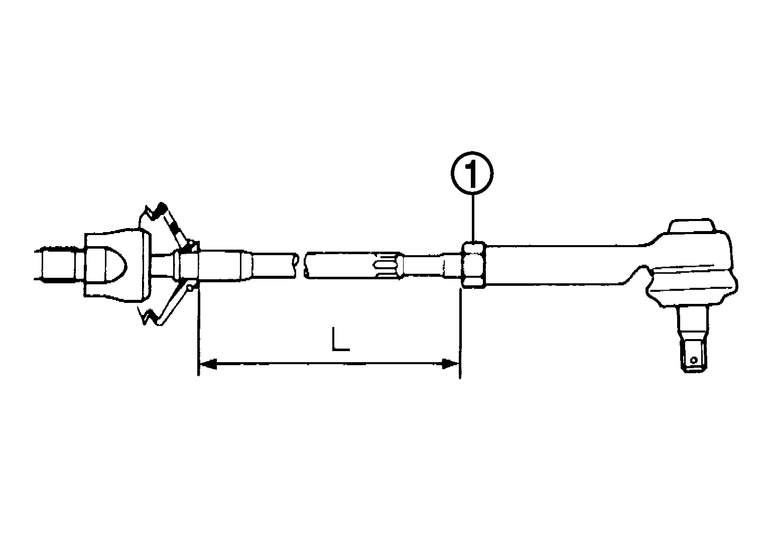
  4. Adjust inner socket to standard length (L), and then tighten outer socket lock nut (1) to the specified torque. Check length again after tightening lock nut.
    Fig 3: Inner Socket Length
    G07052996Courtesy of NISSAN NORTH AMERICA, INC.
    (L) : Refer to POWER STEERING GEAR .
    CAUTION:
    • When tightening the outer socket lock nut (1), be sure to fix outer socket (2) with suitable tool to prevent the ball joint from getting contact with the knuckle.
      Fig 4: Caution For Tightening Lock Nut
      G06933777Courtesy of NISSAN NORTH AMERICA, INC.
    • Adjust toe-in after this procedure. The length achieved after toe-in adjustment is not necessary the above value.