LEMON Manuals: Even more car manuals for everyone: 1960-2025
Home >> Nissan-Datsun >> 2019 >> Sentra SL >> Repair and Diagnosis >> Steering >> Steering Column >> Steering System >> Unit Disassembly And Assembly >> Steering Gear And Linkage >> Disassembly and Assembly >> Assembly
April 5, 2026: LEMON Manuals is launched! Read the announcement.

Disassembly and Assembly: Assembly

  1. Install hole cover onto steering gear.
    • For vehicles with MRA8DE engine, align hole cover (1) tab (A) with notch (B) on steering gear (2).
      GNSAWGIA0493Z-493Courtesy of NISSAN NORTH AMERICA, INC.
    • For vehicles with MR16DDT engine, align hole cover (1) slot (A) with protrusion (B) on steering gear (2).
      GNSAWGIA0492Z-492Courtesy of NISSAN NORTH AMERICA, INC.
  2. Place spacer on end of rack bar.
  3. Apply medium strength thread locker to threads of inner socket. Tighten inner socket to specified torque. Refer to Exploded View .
    CAUTION: To prevent damage to rack bar when installing inner socket, hold suitable tool across rack bar flats while turning suitable tool across inner socket flats.
  4. Apply recommended grease to inner socket (A) of gear housing assembly, and install boot to gear housing assembly.
    GNSJPGIA0102Z-102Courtesy of NISSAN NORTH AMERICA, INC.

    Use Genuine Lithium Soap, Autorex A (manufactured by Kyodo yushi) or equivalent. 

    CAUTION: Do not reuse boot.

    Grease application position (Reference)

    (B)

    : 10 mm (0.39 in)

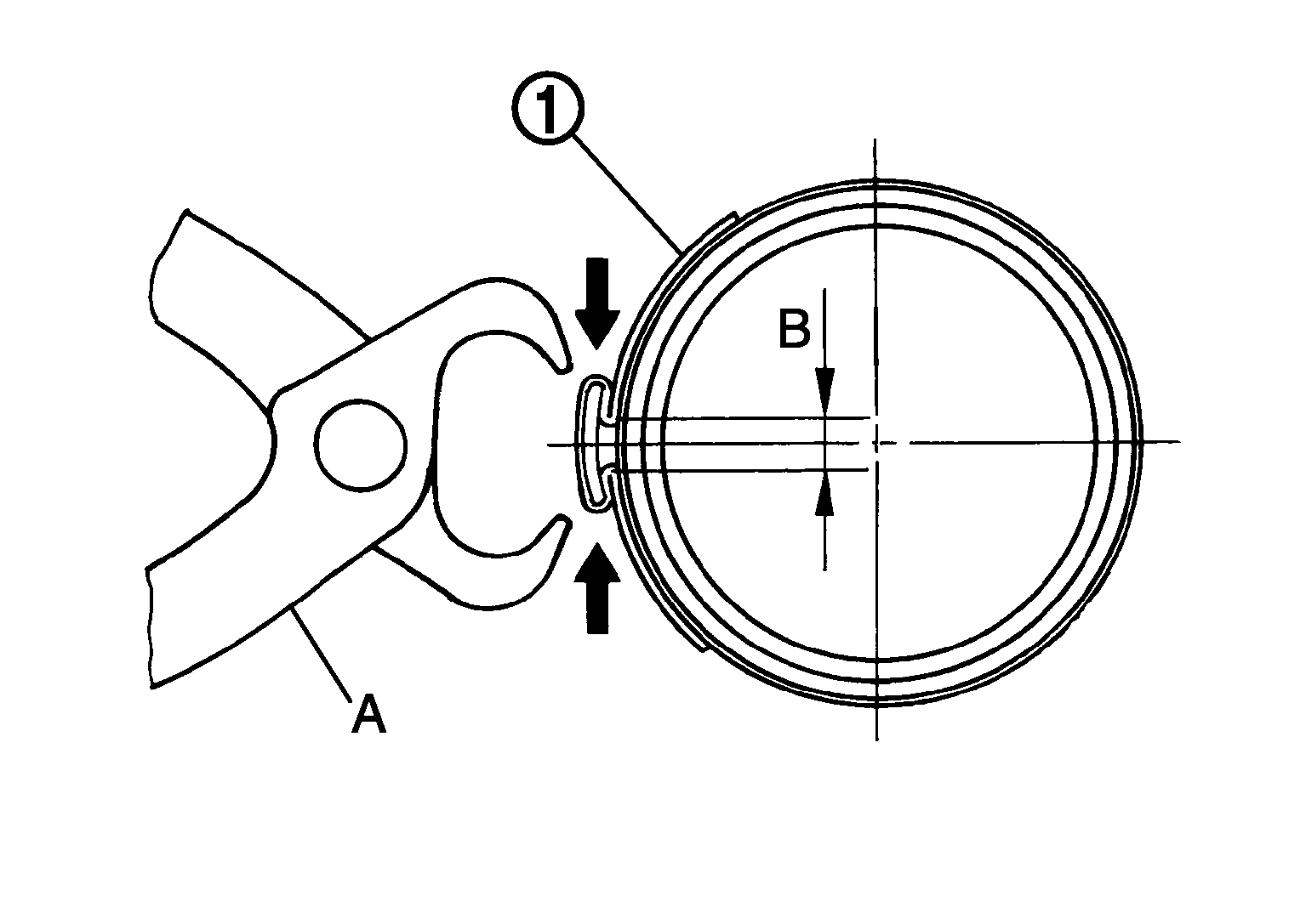
  5. Install boot clamp (large diameter) (1) to boot using Tool.
    GNSJSGIA0140Z-140Courtesy of NISSAN NORTH AMERICA, INC.
    CAUTION:
    • Do not reuse boot clamp (large diameter).
    • Install boot clamp (large diameter) securely to boot groove, and crimp it so as to have clearance (B) of 3 mm (0.12 in) or less as shown.

    Tool number (A)

    : KV40107300 (J-51751)

  6. Install boot clamp (small diameter) to boot.
    CAUTION: Do not reuse boot clamp (small diameter).
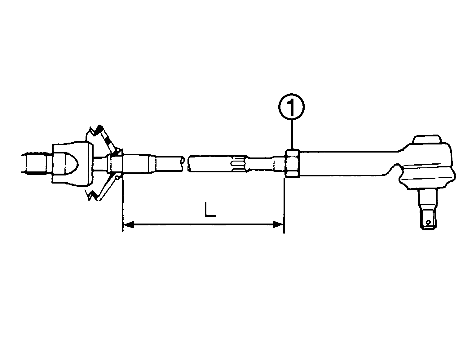
  7. Adjust inner socket to standard length (L), and then tighten outer socket lock nut (1) to the specified torque. Check length again after tightening lock nut.
    GNSJPGIA0187Z-187Courtesy of NISSAN NORTH AMERICA, INC.

    (L)

    : Refer to Power Steering Gear .

    CAUTION:
    • When tightening the outer socket lock nut (1), be sure to fix outer socket (2) with suitable tool to prevent the ball joint from getting contact with the knuckle.
      GNSJSGIA0538Z-538Courtesy of NISSAN NORTH AMERICA, INC.
    • Adjust toe-in after this procedure. The length achieved after toe-in adjustment is not necessary the above value.
  8. Install heat shield (if equipped). Refer to Exploded View .