LEMON Manuals: Even more car manuals for everyone: 1960-2025
Home >> Nissan-Datsun >> 2019 >> Versa Note SR >> Repair and Diagnosis >> Engine Performance >> System >> Engine Control System (Introduction And Basic Inspection) >> System Description >> Component Parts >> Battery Current Sensor (With Battery Temperature Sensor) >> Outline
April 5, 2026: LEMON Manuals is launched! Read the announcement.

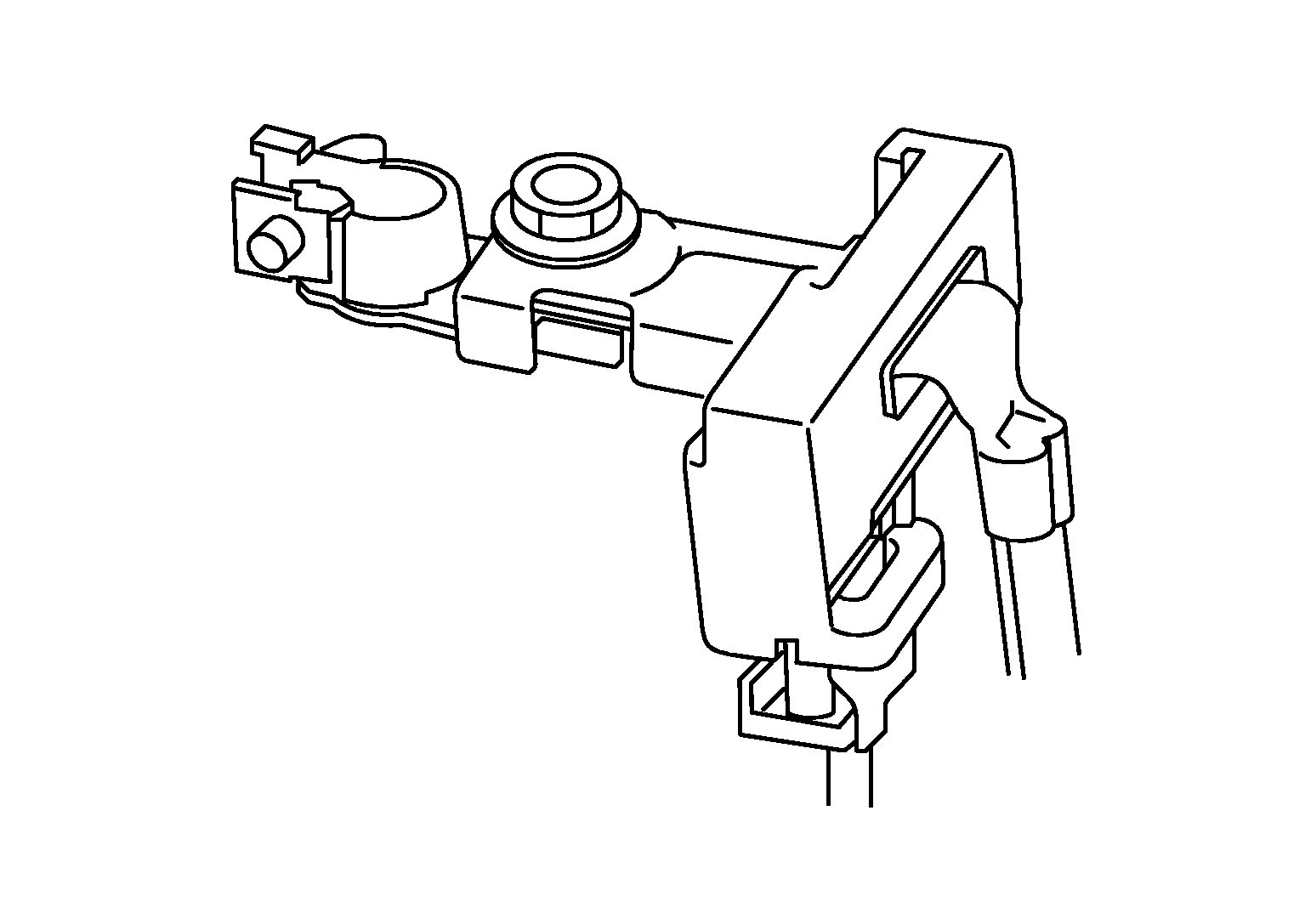
Battery Current Sensor (With Battery Temperature Sensor): Outline

The power generation voltage variable control enables fuel consumption to be decreased by reducing the engine load which is caused by the power generation of the generator.

GNSJPBIA3262Z-262Courtesy of NISSAN NORTH AMERICA, INC.

Based on sensor signals, ECM judges whether or not the power generation voltage variable control is performed. When performing the power generation voltage variable control, ECM calculates the target power generation voltage based on the sensor signal. And ECM sends the calculated value as the power generation command value to IPDM E/R. For the details of the power generation voltage variable control, refer to System Description .

CAUTION: Never connect the electrical component or the ground wire directly to the battery terminal. The connection causes the malfunction of the power generation voltage variable control, and then the battery discharge may occur.