Est System
The ECM monitors information concerning crankshaft position, engine RPM, engine load, atmospheric conditions, engine temperature, and transmission gear position. The information is used to compute the desired spark timing which is relayed to the distributor enabling appropriate changes to ignition timing.
A back-up spark advance system is also incorporated to signal the ignition module in the event of ECM failure.
Distributors on some 4-cylinder equipped engines contain a Hall Effect switch with shutter blades. The Hall Effect switch and shutter blades act as a second pick-up coil and timer core. When the engine is cranking, the pick-up coil and timer core are used to send RPM impulses to the ECM. When the engine is running, the Hall Effect switch and shutter blades perform this function.
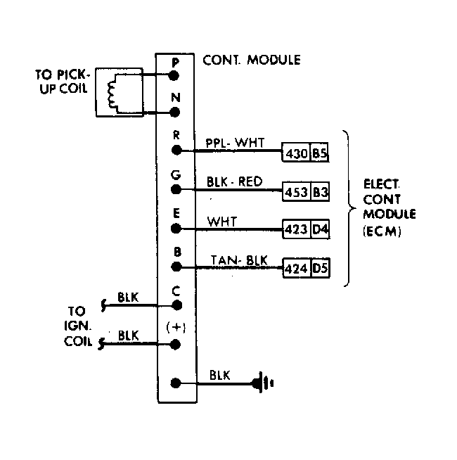
The distributor module is connected to the ECM by a 4-wire connector and performs the following functions:
- Module terminal "E" triggers the HEI module. The ECM advances or retards spark based on the reference signal from terminal "E". If base timing is incorrectly set, entire advance curve will be incorrect.
- Module terminal "R" supplies RPM data and crankshaft position reference to the distributor. If wire is open or grounded on fuel injected vehicles, engine will not run.
- Module terminal "B" is the by-pass circuit. At approximately 400 RPM, ECM applies 5 volts to this circuit which switches spark timing control from HEI module to ECM. On some models, the wire goes through a connector between the 4-wire connector and the ECM. This is disconnected when adjusting base timing. On all models, an open or grounded by-pass circuit will set a Fault Code 42. The engine will run at base timing plus a small amount of advance built into the HEI module.
- Module terminal "G" is the reference ground. It is grounded to the distributor and ensures there is no voltage drop which could affect performance.
- On Hall Effect distributors, changes in position of the by- pass switch modifies the circuit between the pick-up coil and ignition coil. RPM signals are supplied to the ECM by the Hall Effect switch. The Hall Effect switch is connected directly to the ECM and not to the distributor module.