LEMON Manuals: Even more car manuals for everyone: 1960-2025
Home >> Oldsmobile >> 1994 >> Achieva SC, 2.3 A >> Repair and Diagnosis >> Engine Performance >> System >> Engine Controls - Tests W/Codes - 2.3L >> ECM/Pcm Code Charts >> Code 29, Quad-Driver 3 >> Diagnostic Aids
April 5, 2026: LEMON Manuals is launched! Read the announcement.

Diagnostic Aids

Tech 1 has the ability to command shift solenoids and TCC PWM on and off. A faulty connection or an open circuit can result in setting Code 29.

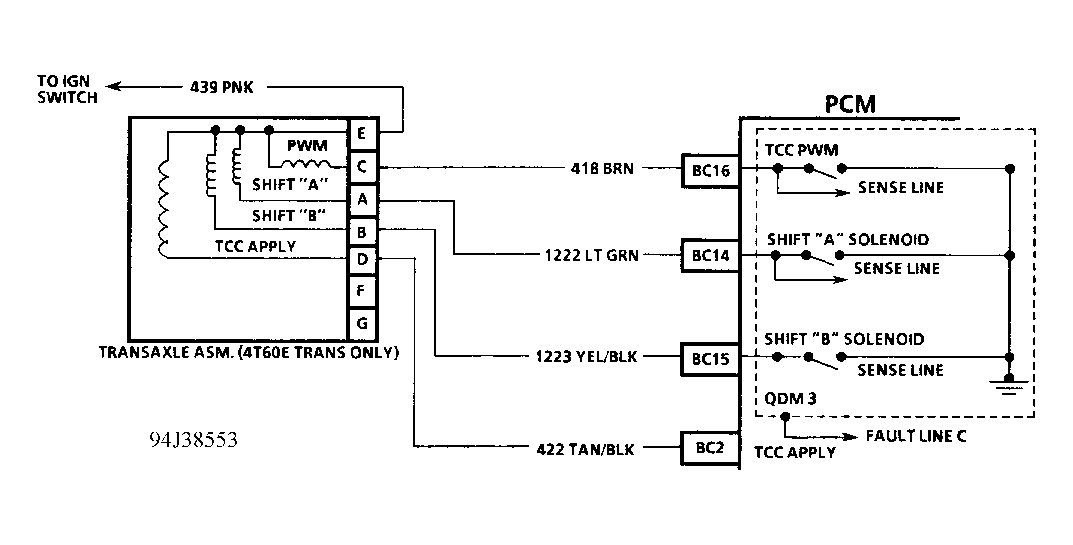
Fig 1: Code 29 Schematic (2.3L) Quad-Driver 3
G94J38553
Fig 2: Code 29 Flow Chart (2.3L - 1 Of 2) Quad-Driver 3
G94G35044
Fig 3: Code 29 Flow Chart (2.3L - 2 Of 2) Quad-Driver 3
G94H35045