LEMON Manuals: Even more car manuals for everyone: 1960-2025
Home >> Oldsmobile >> 1994 >> Achieva SC, 2.3 A >> Repair and Diagnosis >> Engine Performance >> System >> Engine Controls - Tests W/Codes - 3.1L >> ECM/Pcm Code Charts >> Code 28, Transmission Range Pressure Switch >> Diagnostic Aids
April 5, 2026: LEMON Manuals is launched! Read the announcement.

Diagnostic Aids

An intermittent may be caused by a poor connection, rubbed through wire insulation or a wire broken inside the insulation. Check for:

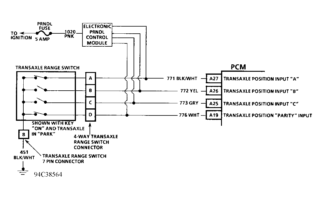
Fig 1: Code 28 Schematic (3.1L) Transmission Range Pressure Switch
G94C38564
Fig 2: Code 28 Flow Chart (3.1L) Transmission Range Pressure Switch
G94I38602