LEMON Manuals: Even more car manuals for everyone: 1960-2025
Home >> Oldsmobile >> 1994 >> Achieva SC, 2.3 A >> Repair and Diagnosis >> Engine Performance >> System >> Engine Controls - Tests W/Codes - 3.1L >> ECM/Pcm Code Charts >> Code 80/90, Transaxle Component Slipping >> Diagnostic Aids
April 5, 2026: LEMON Manuals is launched! Read the announcement.

Diagnostic Aids

Check all connections to transaxle pass-through connector. An open in the ignition feed circuit will cause multiple codes to set. If scan tester indicates TCC is working, road test vehicle. If engine RPM does not decrease when TCC engagement is indicated on TCC, diagnose transaxle for possible mechanical problem.

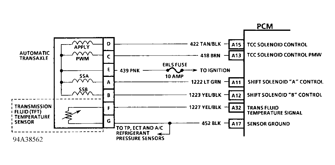
Fig 1: Code 80 Schematic (3.1L) Transaxle Component Slipping
G94A38562
Fig 2: Code 80 Flow Chart (3.1L) Transaxle Component Slipping
G94G38600