LEMON Manuals: Even more car manuals for everyone: 1960-2025
Home >> Oldsmobile >> 1994 >> Cutlass Cruiser >> Repair and Diagnosis >> Engine Performance >> System >> Engine Controls - Tests W/Codes - 2.2L >> ECM/Pcm Code Charts >> Code 28, Quad-Driver No. 2 Error
April 5, 2026: LEMON Manuals is launched! Read the announcement.

Code 28, Quad-Driver No. 2 Error

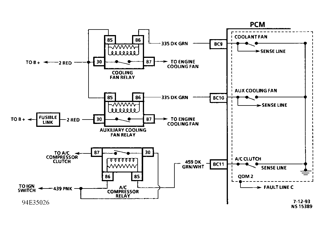
PCM controls most components with electronic switches completing a ground circuit when actuated. Switches are arranged in groups of 4, called Quad-Driver Modules (QDMs), which can independently control up to 4 outputs (control module terminals). When an output is actuated, terminal is grounded and its voltage normally will be low. When an output is off, its terminal voltage will normally be high.

QDMs are fault-protected. If a relay or solenoid coil is shorted (having very low resistance) or if control side of circuit is shorted to voltage, too much current would be allowed into QDM. QDM senses this and turns driver off or QDM's internal resistance increases to limit current flow and protect QDM. Result is high output terminal voltage when it should be low. If circuit from battery voltage or component is open or control side of circuit is shorted to ground, terminal voltage will be low, even when output is turned off. Either of these conditions is considered to be a QDM fault.

Each QDM has a separate fault line to indicate presence of a current fault to control module central processor. A scan tester displays status of each of these fault lines as "low equals okay" or "high equals fault". Code 28 will set if QDM No. 2 is high for 20 seconds or more with battery voltage is sensed at greater than 10.5 volts.

Fig 1: Code 28 Schematic (2.2L) Quad-Driver No. 2 Error
G94E35026
Fig 2: Code 28 Flow Chart (2.2L) Quad-Driver No. 2 Error
G94A35030
Fig 3: Code 28 Flow Chart
GB0013266