LEMON Manuals: Even more car manuals for everyone: 1960-2025
Home >> Oldsmobile >> 1998 >> Intrigue Base >> Repair and Diagnosis (Single Page) >> Accessories & Equipment >> Wiper/Washer Systems >> Wiper System And Washer System >> Testing >> Test No. 2: Wipers Run When Switch Is In Off Position
April 5, 2026: LEMON Manuals is launched! Read the announcement.

Test No. 2: Wipers Run When Switch Is In Off Position

  1. Turn ignition switch to RUN position. Turn wiper switch off. Disconnect wiper switch 13-pin connector from 48-pin connector. Connector is located behind instrument panel, on right side of steering column. If wiper motor continues to run, go to next step. If wiper motor stops, check for shorted wire in pigtail to wiper switch. Repair as necessary. If no problem is found, replace wiper switch/washer assembly.
  2. Measure voltage between ground and Dark Green wire at wiper switch connector. If voltage is more than one volt, go to step 4). If voltage is less than one volt, go to next step.
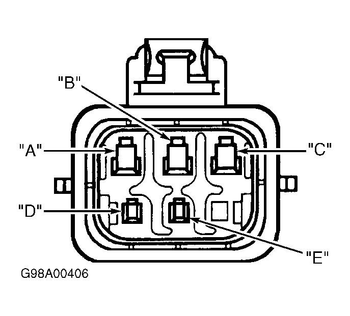
  3. Reconnect wiper switch connector. Disconnect wiper motor connector. Measure voltage between ground and wiper motor 5-pin connector terminal "C" (Purple wire). If voltage is zero volts, replace wiper motor cover assembly. If voltage is present, repair short to battery voltage in Purple wire between wiper motor and wiper switch connector. See Figure .
  4. Reconnect wiper switch connector. Disconnect wiper motor connector. Measure voltage between ground and wiper motor 5-pin connector terminal "D" (Dark Green wire). If voltage is zero volts, replace wiper motor cover assembly. If voltage is present, repair short to battery voltage in Dark Green wire between wiper motor and wiper/washer switch connector.