LEMON Manuals: Even more car manuals for everyone: 1960-2025
Home >> Oldsmobile >> 2002 >> Bravada AWD >> Repair and Diagnosis >> External Pages >> Different car >> Section 249 (Engine Controls Self-Diagnostics - 2.2L) >> Self-Diagnostic System >> Powertrain Control Module Location
April 5, 2026: LEMON Manuals is launched! Read the announcement.

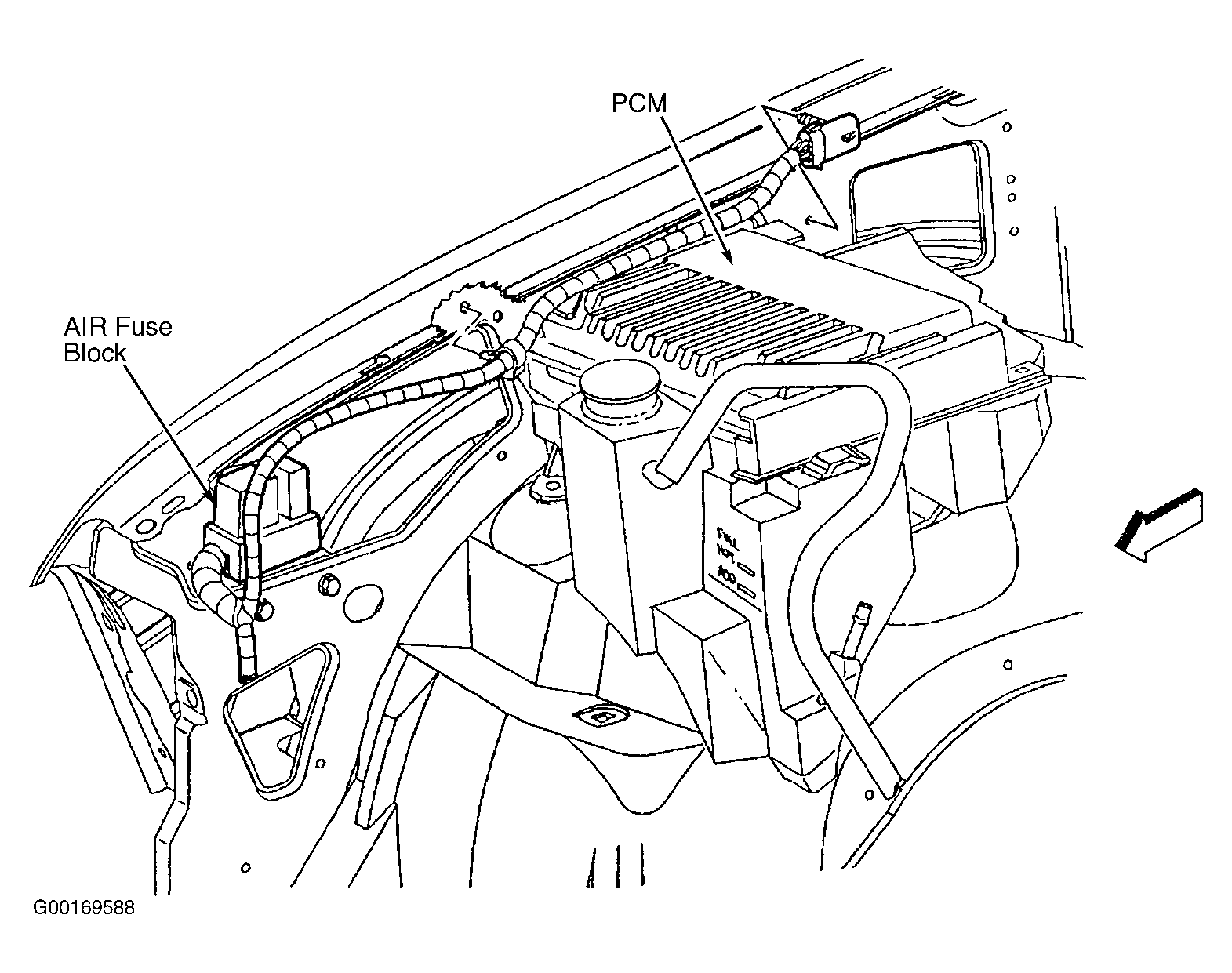
Powertrain Control Module Location

WARNING: This page is about a different car, the 2003 GMC Sonoma and 2003 Chevrolet S10 Pickup. However, it is still accessible from the selected car via links, so may be relevant.

Powertrain Control Module (PCM) is located on right side of engine compartment. See Figure .