LEMON Manuals: Even more car manuals for everyone: 1960-2025
Home >> Oldsmobile >> 2002 >> Intrigue GL >> Repair and Diagnosis (Single Page) >> Engine Mechanical >> Mechanical >> Engine Mechanical - (Unit Repair) >> Specifications >> Thread Repair Specifications
April 5, 2026: LEMON Manuals is launched! Read the announcement.

Thread Repair Specifications

Fig 1: Left Cylinder Head Camshaft Cover Face
G01757582
Fig 2: Left Cylinder Head Camshaft Cover Face (1 Of 2)
G01757583
Fig 3: Left Cylinder Head Camshaft Cover Face (2 Of 2)
G01757584
Fig 4: Left Cylinder Head Front Face
G01757585
Fig 5: Left Cylinder Head Front Face Legend
G01757586
Fig 6: Left Cylinder Head Intake Face
G01757587
Fig 7: Left Cylinder Head Intake Face Legend
G01757588
Fig 8: Left Cylinder Head Exhaust Face
G01757589
Fig 9: Left Cylinder Head Exhaust Face Legend
G01757590
Fig 10: Left Cylinder Head Exhaust Face With A.I.R.
G01757591
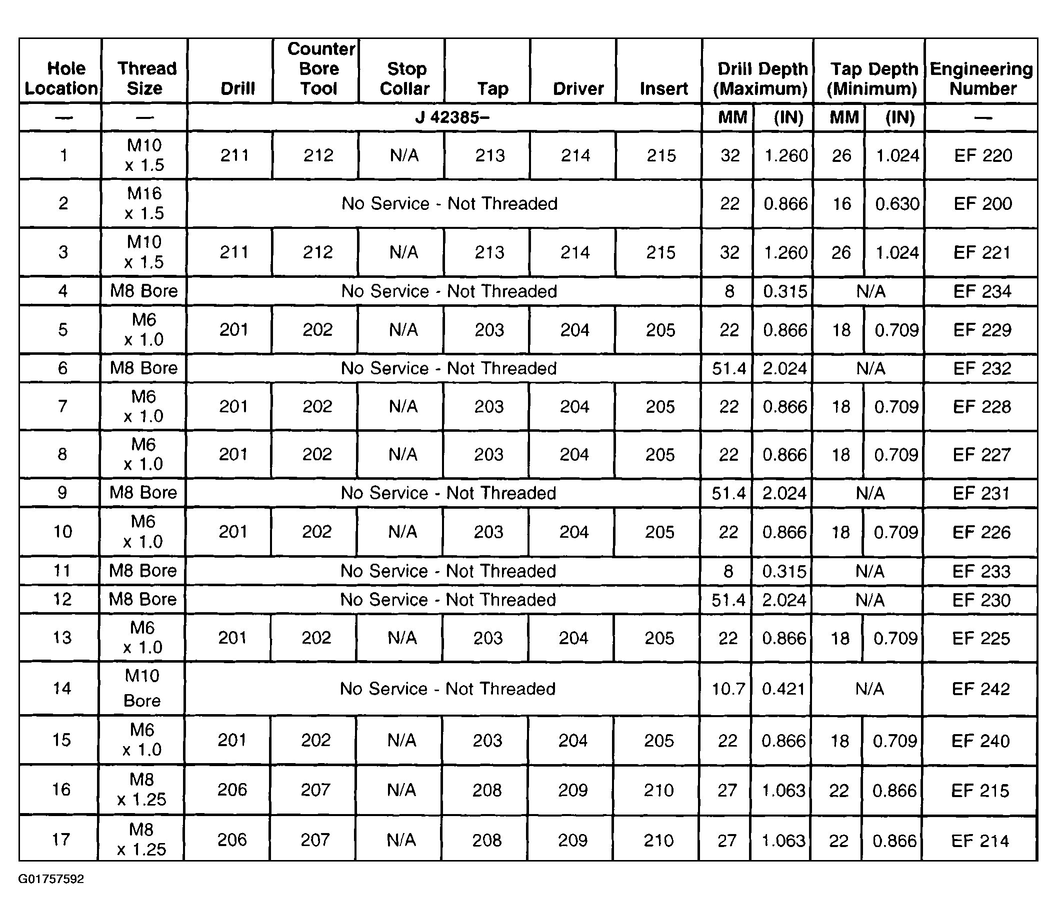
Fig 11: Left Cylinder Head Exhaust Face With A.I.R. Legend (1 Of 2)
G01757592
Fig 12: Left Cylinder Head Exhaust Face with A.I.R. Legend (2 Of 2)
G01757593
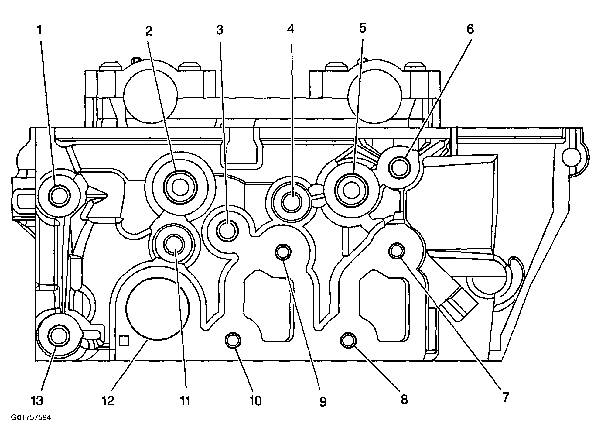
Fig 13: Left Cylinder Head Rear Face
G01757594
Fig 14: Left Cylinder Head Rear Face Legend (1 Of 2)
G01757595
Fig 15: Left Cylinder Head Rear Face Legend (2 Of 2)
G01757596
Fig 16: Right Cylinder Head Camshaft Cover Face
G01757597
Fig 17: Right Cylinder Head Camshaft Cover Face Legend (1 Of 2)
G01757598
Fig 18: Right Cylinder Head Camshaft Cover Face Legend (2 Of 2)
G01757599
Fig 19: Right Cylinder Head Front Face
G01757600
Fig 20: Right Cylinder Head Front Face Legend
G01757601
Fig 21: Right Cylinder Head Intake Face
G01757602
Fig 22: Right Cylinder Head Intake Face Legend
G01757603
Fig 23: Right Cylinder Head Exhaust Face
G01757604
Fig 24: Right Cylinder Head Exhaust Face Legend
G01757605
Fig 25: Right Cylinder Head Exhaust Face with A.I.R.
G01757606
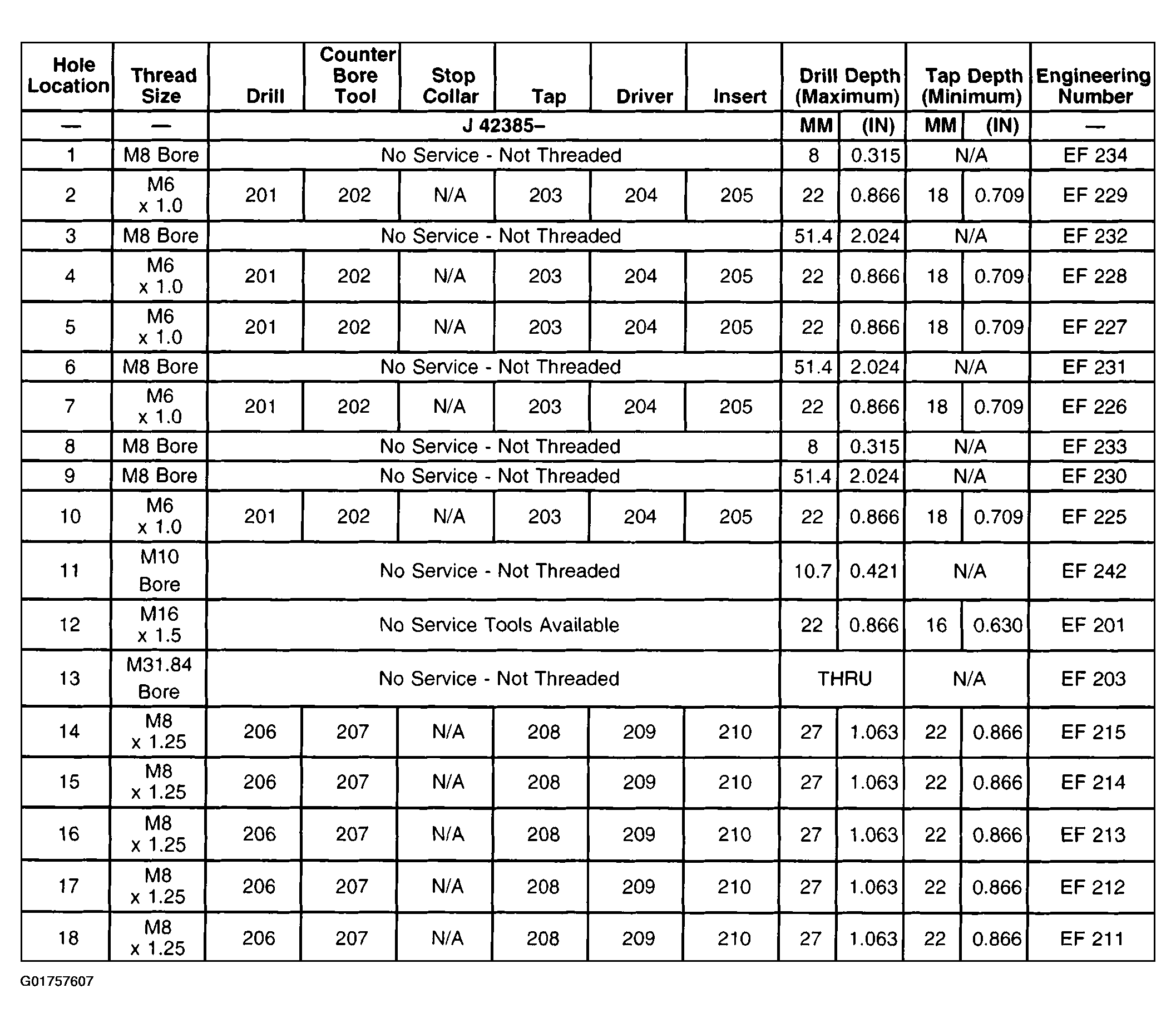
Fig 26: Right Cylinder Head Exhaust Face with A.I.R. Legend (1 Of 2)
G01757607
Fig 27: Right Cylinder Head Exhaust Face with A.I.R. Legend (2 Of 2)
G01757608
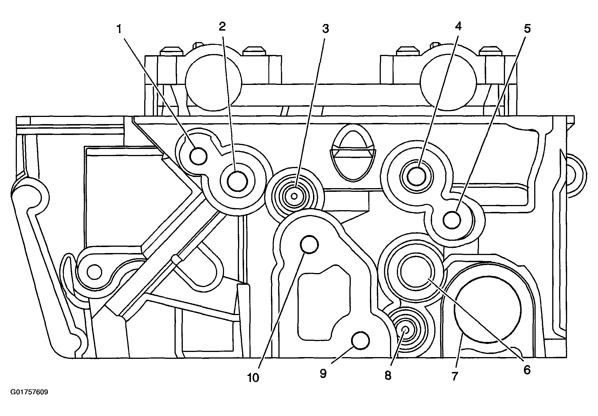
Fig 28: Right Cylinder Head Rear Face
G01757609
Fig 29: Right Cylinder Head Rear Face Legend (1 Of 2)
G01757610
Fig 30: Right Cylinder Head Rear Face Legend (2 Of 2)
G01757611
Fig 31: Engine Block Front
G01757612
Fig 32: Engine Block Front Legend (1 Of 2)
G01757613
Fig 33: Engine Block Front Legend (2 Of 2)
G01757614
Fig 34: Engine Block Left Side
G01757615
Fig 35: Engine Block Left Side Legend (1 Of 2)
G01757616
Fig 36: Engine Block Left Side Legend (2 Of 2)
G01757617
Fig 37: Engine Block Right Side
G01757618
Fig 38: Engine Block Right Side Legend
G01757619
Fig 39: Engine Block Rear
G01757620
Fig 40: Engine Block Rear Legend (1 Of 2)
G01757621
Fig 41: Engine Block Rear Legend (2 Of 2)
G01757622
Fig 42: Engine Block Top
G01757623
Fig 43: Engine Block Top Legend (1 Of 2)
G01757624
Fig 44: Engine Block Top Legend (2 Of 2)
G01757625
Fig 45: Engine Block Left Deck Face
G01757626
Fig 46: Engine Block Left Deck Face Legend
G01757627
Fig 47: Engine Block Right Deck Face
G01757628
Fig 48: Engine Block Right Deck Face Legend
G01757629
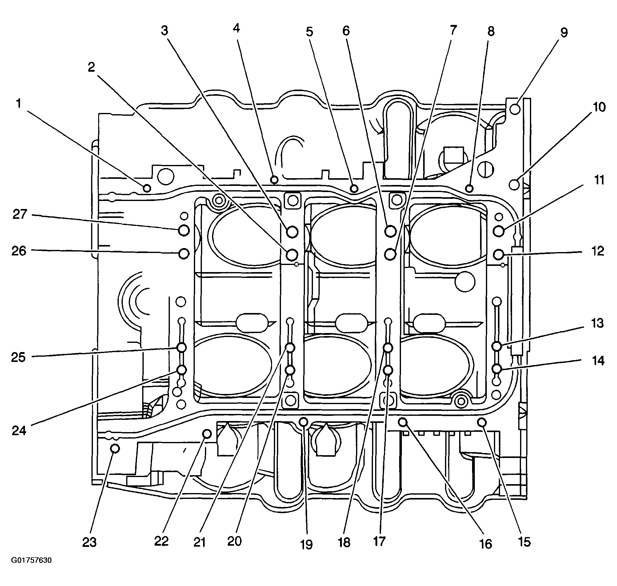
Fig 49: Engine Block Lower Face
G01757630
Fig 50: Engine Block Lower Face Legend (1 Of 2)
G01757631
Fig 51: Engine Block Lower Face Legend (2 Of 2)
G01757632
Fig 52: Lower Crankcase Pan Face
G01757633
Fig 53: Lower Crankcase Pan Face Legend (1 Of 2)
G01757634
Fig 54: Lower Crankcase Pan Face Legend (2 Of 2)
G01757635