LEMON Manuals: Even more car manuals for everyone: 1960-2025
Home >> Oldsmobile >> 2004 >> Bravada AWD >> Repair and Diagnosis (Single Page) >> Accessories & Equipment >> Memory Modules >> Adjustable Pedal System >> Repair Instructions >> Brake Pedal Assembly Replacement >> Installation Procedure.
April 5, 2026: LEMON Manuals is launched! Read the announcement.

Installation Procedure.

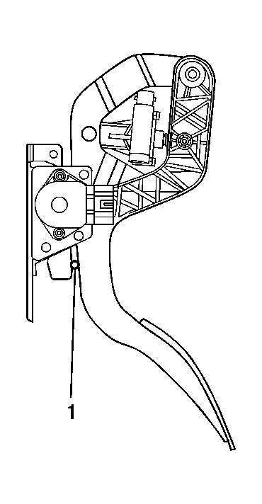
    Fig 1: Checking Brake Pedal Assembly & Return Spring
    GM1334730Courtesy of GENERAL MOTORS CORP.
    IMPORTANT: When installing the brake pedal assembly, ensure that the bushing is in the proper position and the return spring is properly seated against the brake pedal.
  1. Install the brake pedal return spring.
  2. Fig 2: Installing Brake Pedal Assembly
    GM1218562Courtesy of GENERAL MOTORS CORP.
  3. Install the brake pedal assembly to the steering column support bracket.
  4. Fig 3: Installing Pivot Bolt & Nut
    GM1335034Courtesy of GENERAL MOTORS CORP.
    NOTE: Refer to Component Fastener Tightening Notice in Cautions and Notices.
  5. Install the pivot bolt and nut.

    Tighten:  Tighten the pivot bolt and nut to 25 N.m (19 lb ft).

  6. Fig 4: Removing/Installing Brake Light Switch
    GM748017Courtesy of GENERAL MOTORS CORP.
  7. Install the brake light switch (1) on the pushrod (2).
  8. Install the pushrod (2) on the brake pedal (4).
  9. Install the retaining clip (3) on the brake pedal (4).
  10. Install the electrical connector to the brake switch (1).
  11. Fig 5: Brake Pedal Drive Motor Electrical Connector
    GM1302248Courtesy of GENERAL MOTORS CORP.
  12. Install the electrical connector to the brake pedal drive motor.
  13. Fig 6: Installing Drive Cable Retainer
    GM1265314Courtesy of GENERAL MOTORS CORP.
  14. Install the drive cable retainer to the upper right corner of the steering column support.
  15. Fig 7: Adjusting Accelerator Pedal
    GM1301966Courtesy of GENERAL MOTORS CORP.
    IMPORTANT: The following procedure must be performed before the installation of the drive motor and cable assembly. Failure to do so could cause an IMPROPER STEP OVER HEIGHT.
  16. Adjust the accelerator pedal in the following manner:
    1. Turning the motor transmission clockwise reduces the gap, and counterclockwise increases the gap.
    2. Position the drill bit 4.5 mm (0.187 in-3/16 or the equivalent in number and or letter drill bits) a 1/4 of an inch from the bottom of the metal accelerator pivot arm.
    3. Rotating the drive cable by hand, adjust the accelerator motor transmission until the drill 4.5 mm (0.187 in-3/16 or the equivalent in number and or letter drill) bit fits snugly between the plastic accelerator arm and the metal pivot arm.
  17. Fig 8: Installing Drive Cable Into Accelerator Pedal
    GM1218555Courtesy of GENERAL MOTORS CORP.
  18. Install the drive cable in the accelerator pedal.
  19. Fig 9: Locking Drive Cable Collar
    GM1301880Courtesy of GENERAL MOTORS CORP.
  20. Rotate and lock the drive cable collar.
  21. Fig 10: View Of Steering Column Assembly
    GM731644Courtesy of GENERAL MOTORS CORP.
  22. Install the steering column assembly. Refer to Steering Column Replacement in Steering Wheel and Column.
  23. Verify the operation of the adjustable pedals.