LEMON Manuals: Even more car manuals for everyone: 1960-2025
Home >> Pontiac >> 1994 >> Firebird Formula, 2D Convertible, Standard >> Repair and Diagnosis >> Engine Performance >> System >> Engine Controls - Tests W/Codes - 5.7L >> ECM/Pcm Code Charts >> Code 18, Injector Circuit >> Diagnostic Aids
April 5, 2026: LEMON Manuals is launched! Read the announcement.

Diagnostic Aids

If an injector is disconnected and then reconnected while engine is running, injector driver is disabled for a predetermined time and Code 18 will set. When driver is disabled, an engine misfire will be evident.

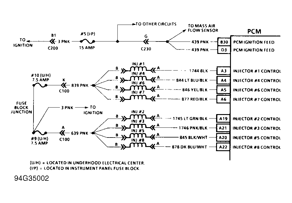
Fig 1: Code 18 Schematic (5.7L) Injector Circuit
G94G35002
Fig 2: Code 18 Flow Chart (5.7L) Injector Circuit
G94I35004