LEMON Manuals: Even more car manuals for everyone: 1960-2025
Home >> Pontiac >> 1995 >> Firebird Formula, 2D Convertible, Automatic >> Repair and Diagnosis >> Engine Performance >> System >> Engine Controls - Tests W/Codes - 3.4L >> ECM/Pcm Code Charts >> Code 86, Analog/Digital Error >> Diagnostic Aids
April 5, 2026: LEMON Manuals is launched! Read the announcement.

Diagnostic Aids

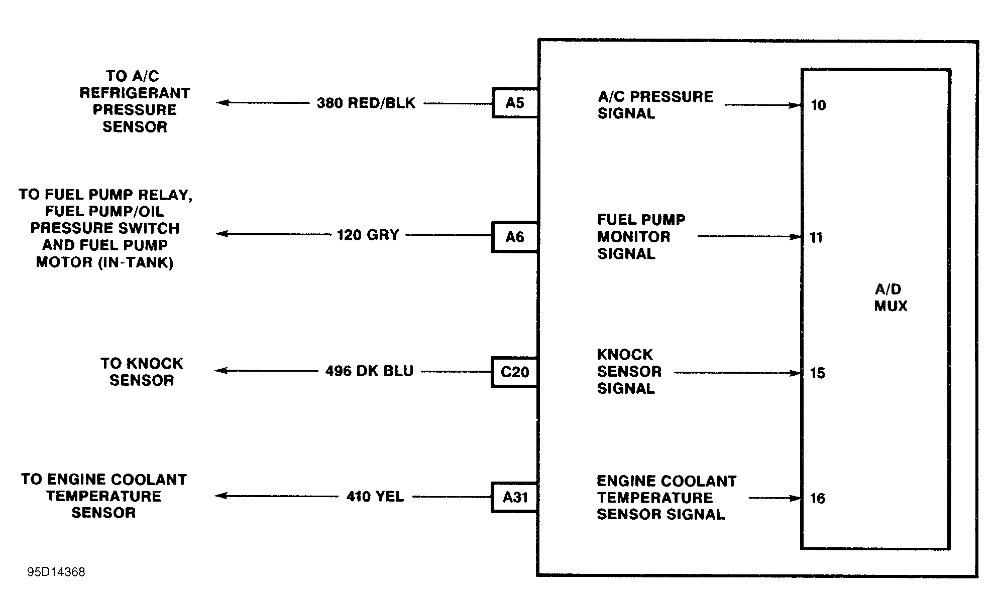
If Code 86 is intermittent, all circuits leading to the PCM that are connected to the A/D multiplexer should be checked for an intermittent short to battery voltage. Monitor each input circuit on a scan tester and wiggle related circuits (wiring and connectors). Any circuit that intermittently shorts to battery voltage will show a change in data on the scan tester.

Fig 1: Code 86 Schematic (3.4L (VIN S)) Analog/Digital Error
G95D14368