LEMON Manuals: Even more car manuals for everyone: 1960-2025
Home >> Pontiac >> 1995 >> Firebird Formula, 2D Convertible, Automatic >> Repair and Diagnosis >> Engine Performance >> System >> Engine Controls - Tests W/Codes - 5.7L >> ECM/Pcm Code Charts >> Code 70, A/C Compressor Relay Driver >> Diagnostic Aids
April 5, 2026: LEMON Manuals is launched! Read the announcement.

Diagnostic Aids

Check related harness connectors, including PCM harness. Check for damaged or pushed out terminals.

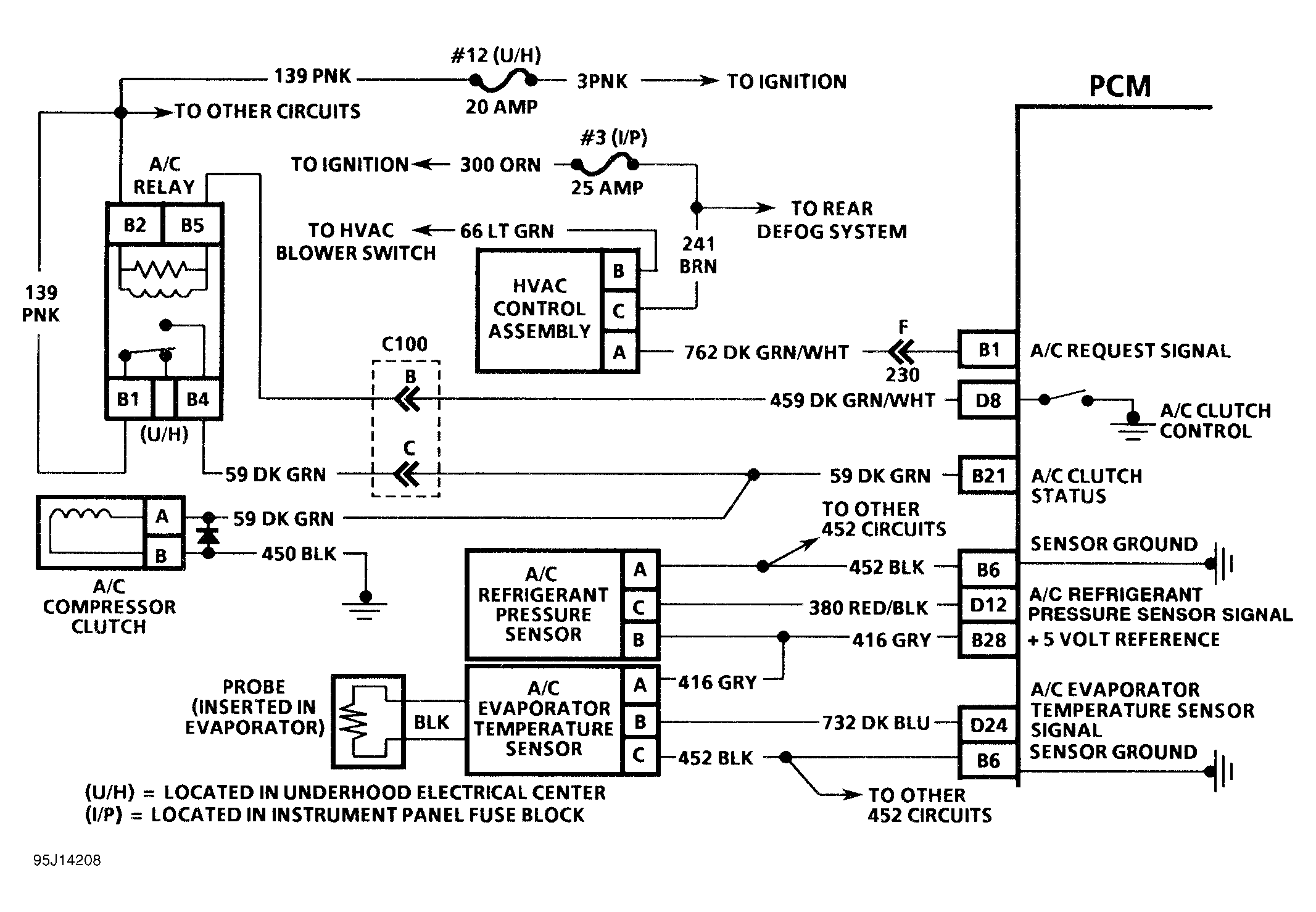
Fig 1: Code 70 Schematic (5.7L) A/C Compressor Relay Driver
G95J14208
Fig 2: Code 70 Diagnostic Flow Chart (5.7L) A/C Compressor Relay Driver
G95J14232