LEMON Manuals: Even more car manuals for everyone: 1960-2025
Home >> Pontiac >> 1996 >> Firebird Trans Am, 2D Convertible, Automatic >> Repair and Diagnosis >> Engine Performance >> System >> Engine Control System - System & Component Tests - 5.7L >> Miscellaneous Controls >> Transmission (C-8) >> Converter Lock-Up Signal From PCM
April 5, 2026: LEMON Manuals is launched! Read the announcement.

Converter Lock-Up Signal From PCM

  1. Warm engine to operating temperature. Raise vehicle and support drive wheels. Support suspension where necessary to prevent damage to drive axles.
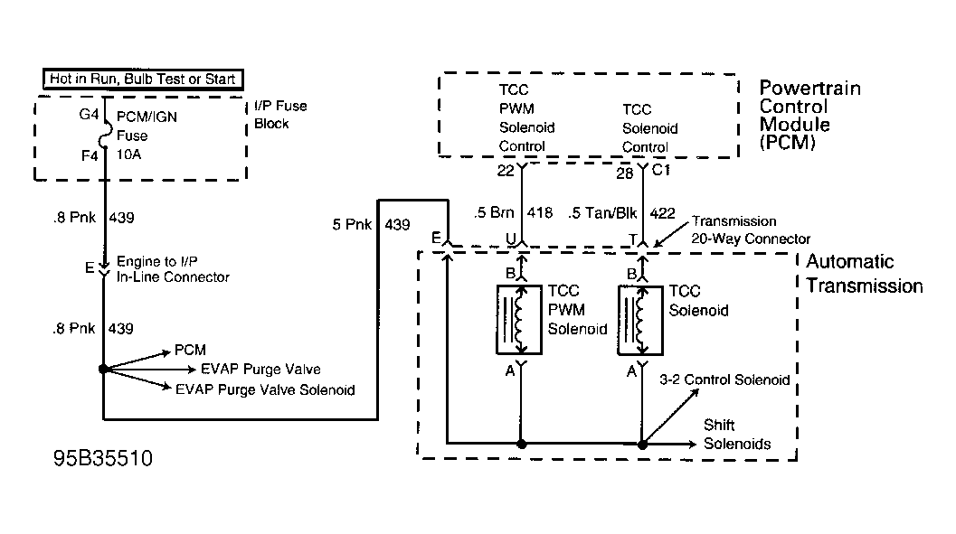
  2. Connect a test light to battery voltage. Touch TCC control driver terminal with test light. On some vehicles, this is terminal "F" of Data Link Connector (DLC). See Fig 1 . Accelerate vehicle to 45 MPH and note test light. If test light does not illuminate, problem is a faulty PCM connector or PCM.
Fig 1: Converter Clutch Schematic
G95B35510