LEMON Manuals: Even more car manuals for everyone: 1960-2025
Home >> Pontiac >> 2001 >> Aztek Base, AWD >> Repair and Diagnosis >> External Pages >> Different car >> Section 1538 (Battery, Charging System And Starting System) >> Component Locator >> Engine Electrical Connector End Views >> Clutch Start Switch (w/ M/T)
April 5, 2026: LEMON Manuals is launched! Read the announcement.

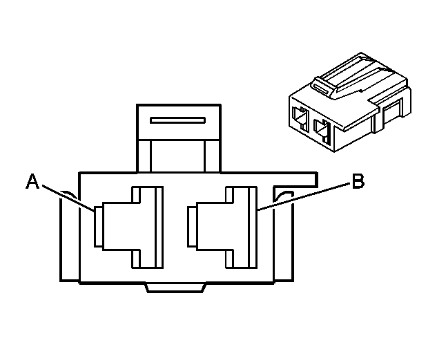
Clutch Start Switch (w/ M/T)

WARNING: This page is about a different car, the 2007 Saturn Vue. However, it is still accessible from the selected car via links, so may be relevant.
Fig 1: Clutch Start Switch (w/ M/T)Connector End Views
GM806621Courtesy of GENERAL MOTORS CORP.
Clutch Start Switch (w/ M/T)Connector Parts Information

Connector Part Information 
  • OEM: 12034417
  • Service: See Catalog
  • Description: 2-Way F Metri-Pack 480 Series (BK)
Clutch Start Switch (w/ M/T)Connector Terminal Identification

Pin Wire Color Circuit No. Function
A YE 5 Crank Voltage
B PU 6 Starter Solenoid Crank Voltage