LEMON Manuals: Even more car manuals for everyone: 1960-2025
Home >> Pontiac >> 2001 >> Aztek Base, AWD >> Repair and Diagnosis >> External Pages >> Different car >> Section 248 (Engine Controls - System & Component Testing - 4.3) >> Fuel Systems >> Fuel Pump Electrical Circuit Diagnosis >> Notes
April 5, 2026: LEMON Manuals is launched! Read the announcement.

Fuel Pump Electrical Circuit Diagnosis: Notes

WARNING: This page is about a different car, the 2003 GMC Sierra and 2003 Chevrolet Silverado. However, it is still accessible from the selected car via links, so may be relevant.
Fig 1: Identifying Underhood Fuse/Relay Block
G00169529Courtesy of GENERAL MOTORS CORP.
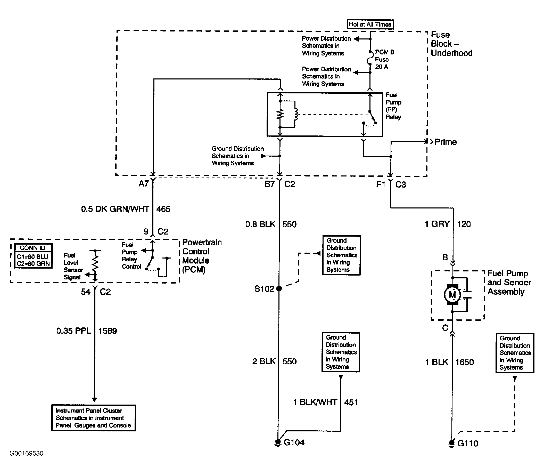
Fig 2: Fuel Pump Electrical Schematic
G00169530Courtesy of GENERAL MOTORS CORP.