LEMON Manuals: Even more car manuals for everyone: 1960-2025
Home >> Pontiac >> 2001 >> Aztek Base, AWD >> Repair and Diagnosis >> External Pages >> Different car >> Section 809 (Seat System) >> Schematic Wiring Diagrams >> Memory Seats Wiring Schematics (Power, Ground, Class 2, and Memory Set Controls)
April 5, 2026: LEMON Manuals is launched! Read the announcement.

Memory Seats Wiring Schematics (Power, Ground, Class 2, and Memory Set Controls)

WARNING: This page does not describe the selected car, but rather 8 other vehicles, including the 2003 GMC Yukon XL, 2003 GMC Yukon, 2003 Chevrolet Tahoe, 2003 Chevrolet Suburban, and 2003 Chevrolet Avalanche. However, it is still accessible from the selected car via links, so may be relevant.
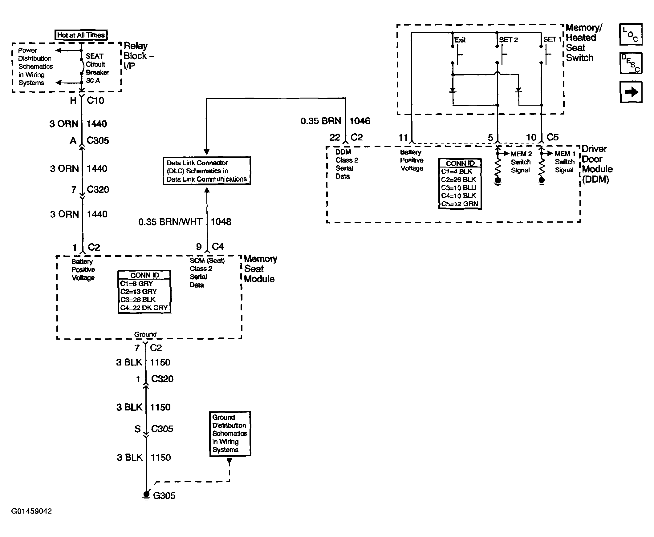
Fig 1: Memory Seats Schematics (Power, Ground, Class 2, And Memory Set Controls)
G01459042Courtesy of GENERAL MOTORS CORP.
Fig 2: Memory Seats Schematics (Seat Adjuster Switch)
G01459043Courtesy of GENERAL MOTORS CORP.
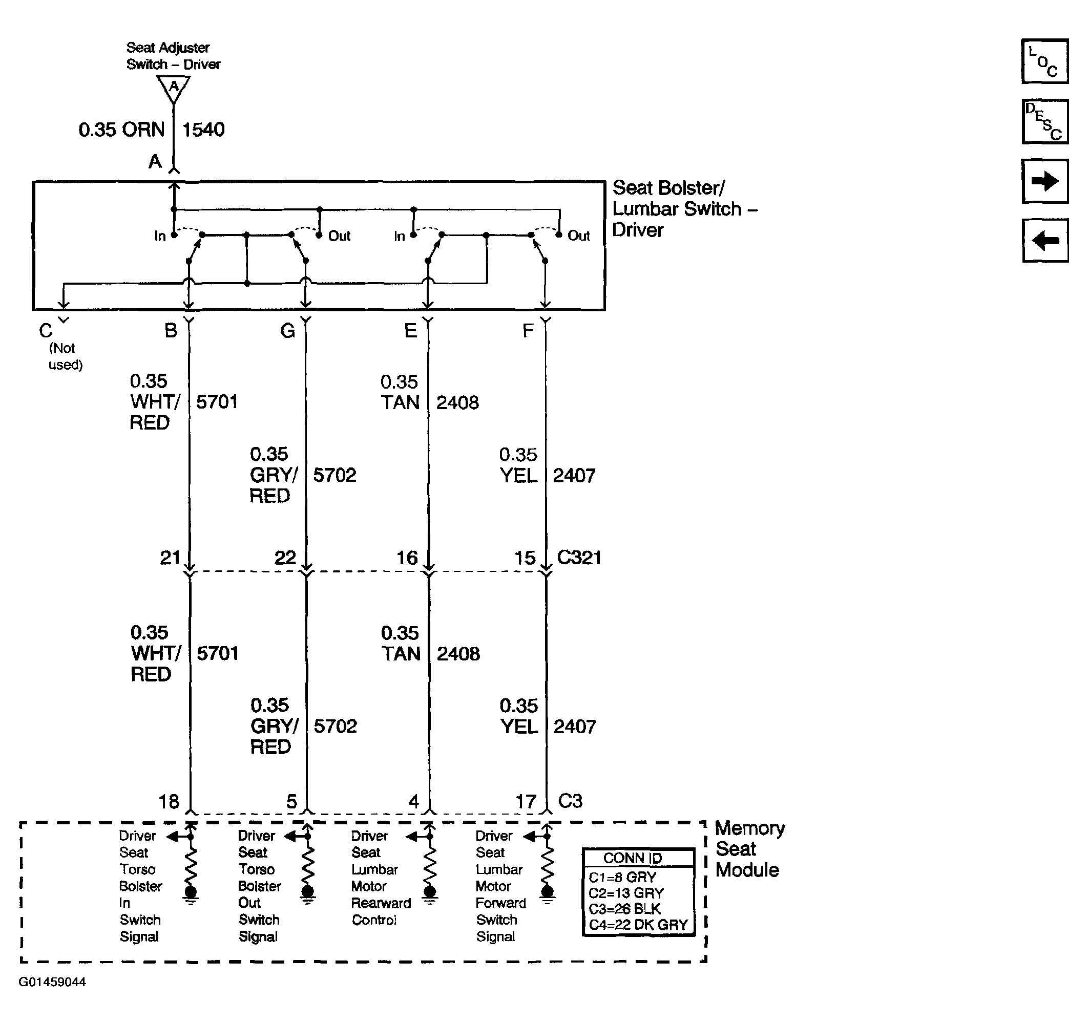
Fig 3: Memory Seats Schematics (Lumbar/Bolster Switch)
G01459044Courtesy of GENERAL MOTORS CORP.
Fig 4: Memory Seats Schematics - Seat Motor (1 Of 2))
G01459045Courtesy of GENERAL MOTORS CORP.
Fig 5: Memory Seats Schematics - Seat Motor (2 Of 2))
G01459046Courtesy of GENERAL MOTORS CORP.
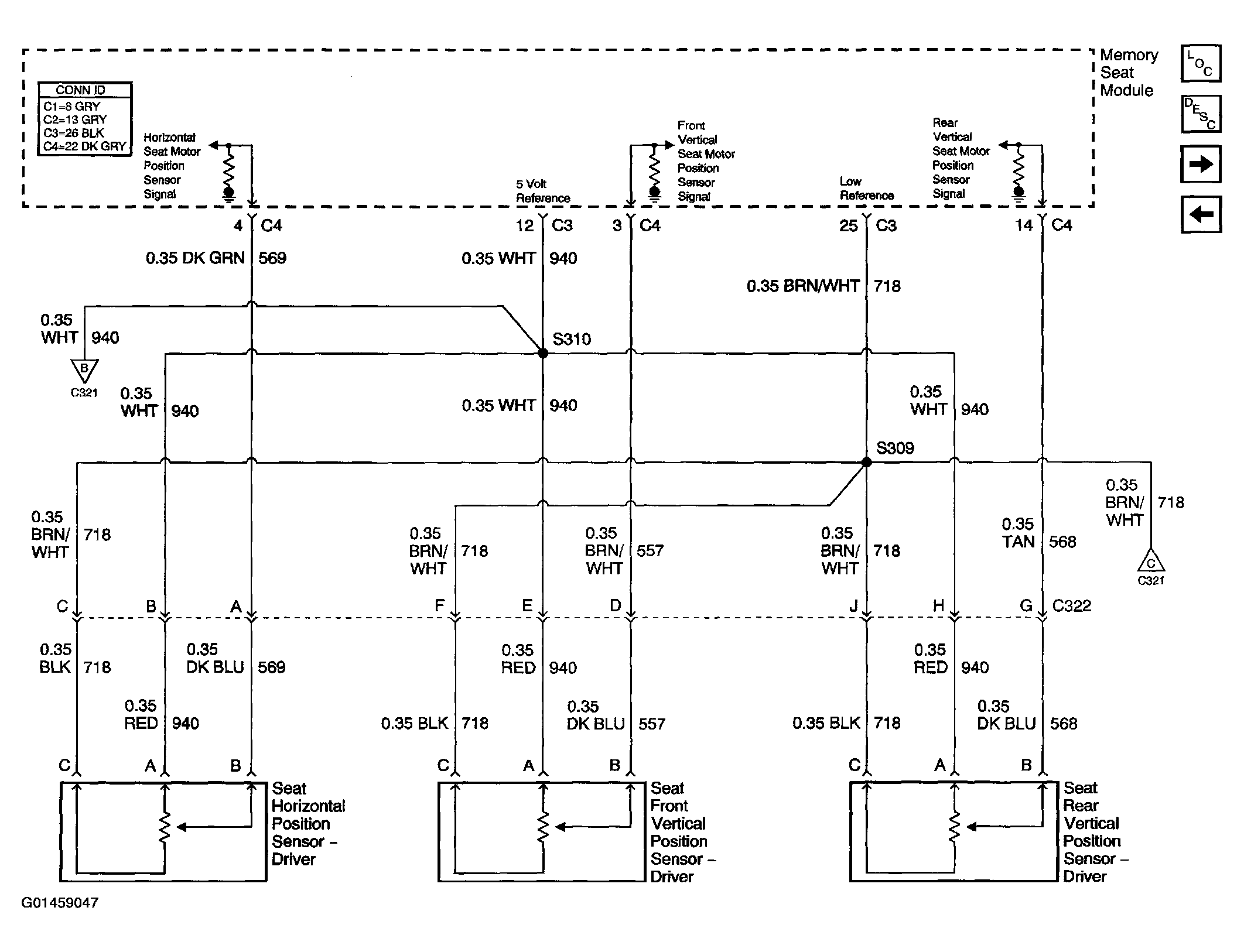
Fig 6: Memory Seats Schematics - Seat Position Sensors (1 Of 2))
G01459047Courtesy of GENERAL MOTORS CORP.
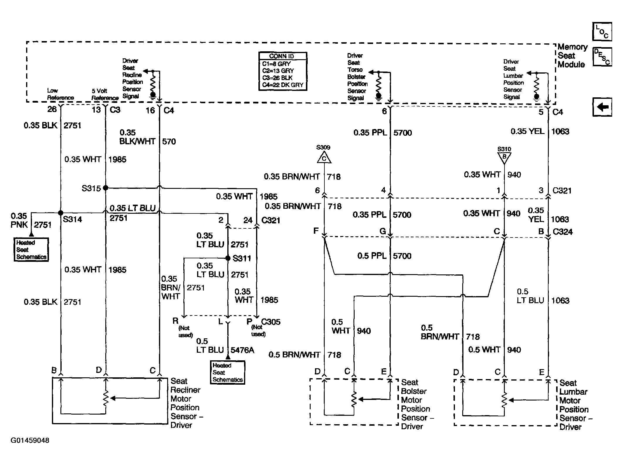
Fig 7: Memory Seats Schematics - Seat Position Sensors (2 Of 2))
G01459048Courtesy of GENERAL MOTORS CORP.