LEMON Manuals: Even more car manuals for everyone: 1960-2025
Home >> Pontiac >> 2001 >> Aztek V6-3.4L VIN E >> Repair and Diagnosis >> Diagrams >> Exploded Views >> Transfer Case >> Transfer Case Assembly
April 5, 2026: LEMON Manuals is launched! Read the announcement.

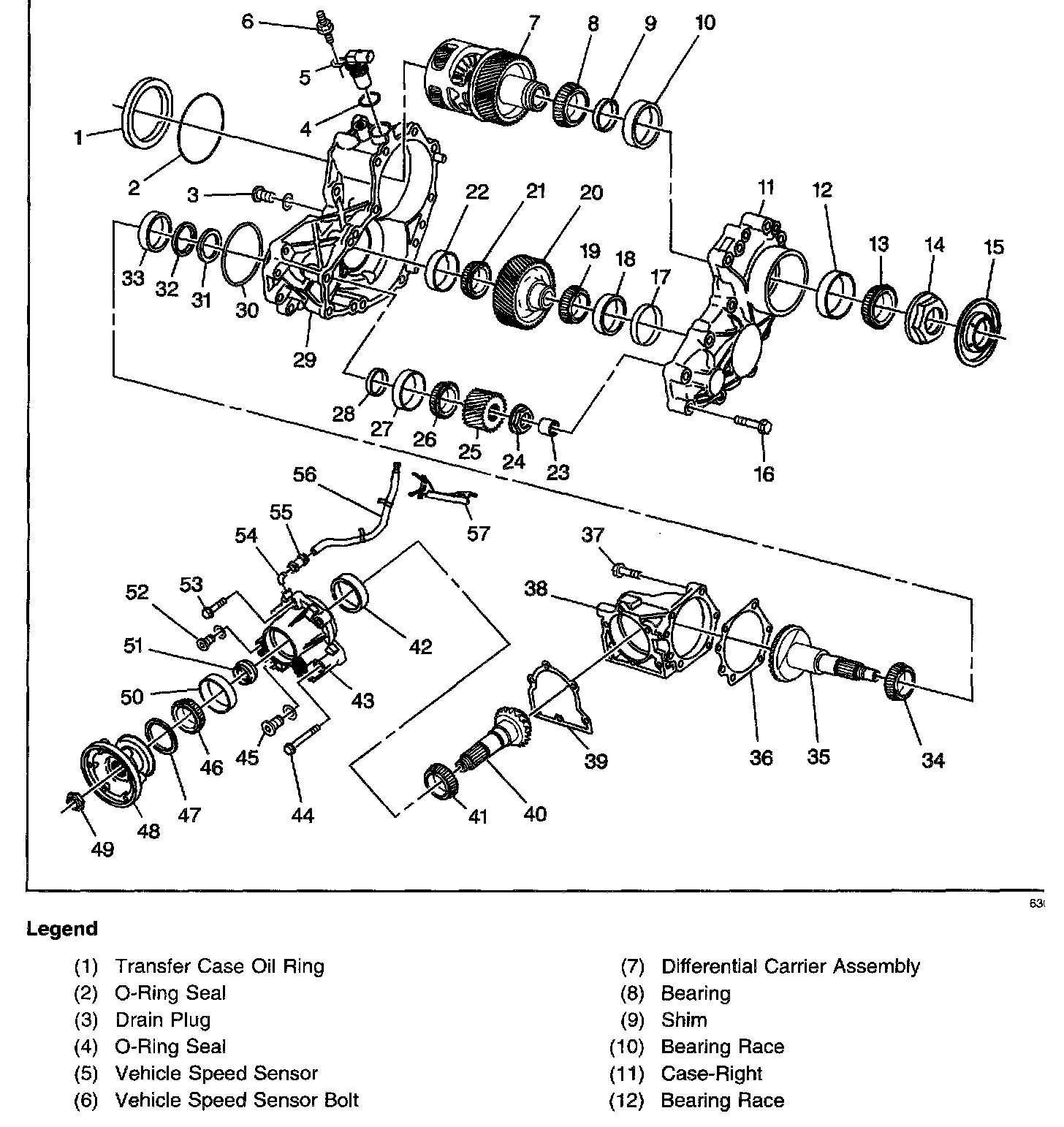
Transfer Case Assembly





Part 1 of 2





Part 2 of 2

Transfer Case Assembly