LEMON Manuals: Even more car manuals for everyone: 1960-2025
Home >> Pontiac >> 2002 >> Aztek AWD >> Repair and Diagnosis >> Engine Mechanical >> Engine Exhaust System >> Repair Instructions >> Muffler Replacement >> Installation Procedure
April 5, 2026: LEMON Manuals is launched! Read the announcement.

Installation Procedure

  1. Install the muffler over the rear axle and towards the rear of the vehicle.
  2. Install the exhaust hanger insulators to the muffler.
  3. If the vehicle is equipped with AWD, use the utility stand to raise and install the crossmember. Refer to CROSSMEMBER .
    Fig 1: Installing Muffler
    G01747760Courtesy of GENERAL MOTORS CORP.
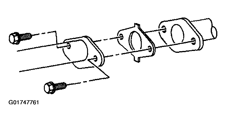
  4. Install a new catalytic converter gasket.
    NOTE: Refer to FASTENER NOTICE .
  5. Install the catalytic converter bolts.

    Tighten 

    Tighten the bolts to 34 N.m (25 lb ft).

  6. Lower the vehicle.
    Fig 2: Installing Catalytic Converter Gasket & Bolts
    G01747761Courtesy of GENERAL MOTORS CORP.