LEMON Manuals: Even more car manuals for everyone: 1960-2025
Home >> Pontiac >> 2004 >> GTO Automatic >> Repair and Diagnosis >> Electrical >> Charging Systems >> Battery, Charging System And Starting System >> Component Locator >> Engine Electrical Connector End Views
April 5, 2026: LEMON Manuals is launched! Read the announcement.

Engine Electrical Connector End Views

Clutch Pedal Position (CPP) Switch Terminal Identification

GM1356225Courtesy of GENERAL MOTORS CORP.
Connector Part Information
  • S42
  • 2-Way F (WH)
Pin Wire Color Circuit No. Function
A GY/BU 275 Neutral Safety Switch Signal
B GY 434 Park Neutral Position Switch Park Signal
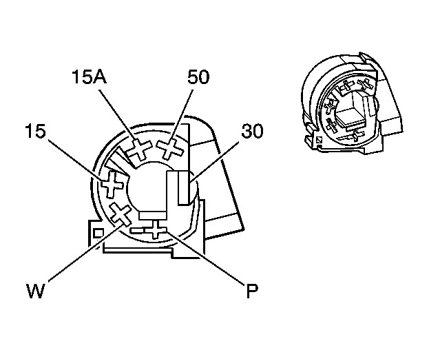
Ignition Switch C1 Terminal Identification

GM1356187Courtesy of GENERAL MOTORS CORP.
Connector Part Information
  • 9123-5253
  • 6-Way F (WH)
Pin Wire Color Circuit No. Function
P - - Not Used
W BN/WH 4 Accessory Voltage
15 OG 300 Ignition 3 Voltage
15A - - Not Used
50 PU 5 Crank Voltage
30 RD/WH 1640 Battery Positive Voltage
Ignition Switch C4 Terminal Identification

GM1356189Courtesy of GENERAL MOTORS CORP.
Connector Part Information
  • 9123-2864
  • 2-Way F (WH)
Pin Wire Color Circuit No. Function
1 L-BU 1077 Ignition Key/Shifter Interlock Solenoid Unlock
2 BN/WH 4 Accessory Voltage
Ignition Lock Cylinder Lamp Terminal Identification

GM1356111Courtesy of GENERAL MOTORS CORP.
Connector Part Information
  • 7141-5191-30
  • 2-Way F (BK)
Pin Wire Color Circuit No. Function
A OG/BK 149 Courtesy Lamp Supply Voltage
B WH/GN 660 Left Courtesy Lamp Control
Generator Terminal Identification

GM1356160Courtesy of GENERAL MOTORS CORP.
Connector Part Information
  • 7223-6224-40
  • 2-Way F (GY)
Pin Wire Color Circuit No. Function
A WH 2 Battery Positive Voltage
B BN 25 Charge Indicator Control/Charge Indicator Signal
Park/Neutral Position Switch Terminal Identification

GM1356193Courtesy of GENERAL MOTORS CORP.
Connector Part Information
  • 9223-6722-30
  • 12-Way F (BK)
Pin Wire Color Circuit No. Function
1 GY/BU 275 Park Neutral Position Switch Park Signal
2 - - Not Used
3 YE 1479 A/T Neutral Signal
4 YE/RD 772 Transmission Range Switch Signal B
5 BU/WH 771 Transmission Range Switch Signal A
6 GY 773 Transmission Range Switch Signal C
7 BK/RD 450 Ground
8 WH 776 Transmission Range Switch Signal P
9 - - Not Used
10 L-GN 24 Backup Lamp Supply Voltage
11 BN/BU 239 Ignition 1 Voltage
12 GY 434 Neutral Safety Switch Signal