LEMON Manuals: Even more car manuals for everyone: 1960-2025
Home >> Pontiac >> 2004 >> Vibe Base, AWD >> Repair and Diagnosis (Single Page) >> Accessories & Equipment >> Wiper/Washer Systems >> Wiper System & Washer System >> Component Locator >> Wiper/Washer System Connector End Views
April 5, 2026: LEMON Manuals is launched! Read the announcement.

Wiper/Washer System Connector End Views

Washer Motor-Rear Connector End View

GM334964Courtesy of GENERAL MOTORS CORP.
Connector Part Information
  • 90980-10981
  • BLK
Pin Wire Color Function
1 BU/YE Washer Pump Feed Circuit
2 BU Washer Pump Control
3 - Not Used
Wiper Motor-Front Connector End View

GM820115Courtesy of GENERAL MOTORS CORP.
Connector Part Information
  • 90980-11599
  • GRY
Pin Wire Color Function
1 BU/WH Intermitten/Low Control
2 BU Ignition Positive Voltage
3 BU/WH Wiper Park Control
4 BU/RD High Speed
5 WH/BK Ground
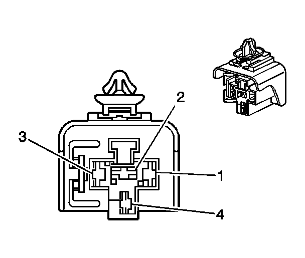
Washer Motor-Rear Connector End View

GM334964Courtesy of GENERAL MOTORS CORP.
Connector Part Information
  • 90980-10981
  • BLK
Pin Wire Color Function
1 BU/RD Rear Washer Pump Supply Voltage
2 BU Rear Washer Pump Control
3 - Not Used
Rear Wiper Diode Connector End View

GM820084Courtesy of GENERAL MOTORS CORP.
Connector Part Information
  • 90980-10962
  • BLK
Pin Wire Color Function
1 RD/WH Supply Voltage
2 RD/BK Rear Wiper Relay 1 Supply Voltage
Rear Wiper Relay 1 Connector End View

GM820004Courtesy of GENERAL MOTORS CORP.
Connector Part Information
  • 82660-0C010
  • BGE
Pin Wire Color Function
1 RD/WH Rear Wiper Relay 1 Signal
2 BU/WH Supply Voltage-RR WIP Fuse
3 RD/BK Supply Voltage-Rear Wiper Diode
4 BU Rear Wiper Motor Control
Rear Wiper Relay 2 Connector End View

GM335024Courtesy of GENERAL MOTORS CORP.
Connector Part Information
  • 90980-10797
  • WHT
Pin Wire Color Function
1 - Not Used
2 PK Intermittent Position
3 BU Park Control
4 BU/WH Wiper Motor Feed
5 BU/BK Park Switch
6 WT Wiper Relay Ground
Rear Hatch Glass Connector End View

GM820017Courtesy of GENERAL MOTORS CORP.
Connector Part Information
  • 90980-10772
  • WHT
Pin Wire Color Function
1 WT/BK Ground
2 BK Defogger Relay
3 BU/WT Wiper Motor Feed
4 BU/WH Not Used
5 BU/BK Park Switch
6 WH Not Used
7 BU Park Control
Windshield Wiper/Washer Level Sensor Connector End View

GM334995Courtesy of GENERAL MOTORS CORP.
Connector Part Information
  • 90980-11068
  • BLK
Pin Wire Color Function
1 BU/WH Indicator Signal
2 WH/BK Ground
Windshield Wiper/Washer Switch Connector End View

GM820218Courtesy of GENERAL MOTORS CORP.
Connector Part Information
  • 90980-12008
  • BLK
Pin Wire Color Function
1 PK Rear Wiper Off Signal
2 WH Rear Wiper Control Circuit
3 BU/RD Rear Washer Pump Control
4 BU/YE Front Washer Motor Control
5 WH/BK Ground
6 BU/WH Front Wiper Park Control
7 BU/WH Front Wiper Low Position
8 BU Wiper Switch Feed Circuit
9 BU/RD Front Wiper High Position
10 - Not Used