LEMON Manuals: Even more car manuals for everyone: 1960-2025
Home >> Pontiac >> 2004 >> Vibe Base, AWD >> Repair and Diagnosis >> External Pages >> Different car >> Section 121 (Antilock Brake System, Traction Control System & Stability Control System) >> Description and Operation >> ABS Description and Operation >> Notes
April 5, 2026: LEMON Manuals is launched! Read the announcement.

ABS Description and Operation: Notes

WARNING: This page is about a different car, the 2005 Pontiac Vibe. However, it is still accessible from the selected car via links, so may be relevant.
Fig 1: BPMV and EBCM (with Traction Control)
GM1491409Courtesy of GENERAL MOTORS CORP.
Callout Component Name
1 EBCM Wiring Harness Connector
2 Brake Pressure Modulator Valve (BPMV)/Electronic Brake Control Module (EBCM)
3 EBCM/BPMV Mounting Bracket
Fig 2: BPMV and EBCM (without Traction Control)
GM1491413Courtesy of GENERAL MOTORS CORP.
Callout Component Name
1 Brake Pressure Modulator Valve (BPMV)/Electronic Brake Control Module (EBCM)
2 EBCM Wiring Harness Connector
3 EBCM/BPMV Mounting Bracket
Fig 3: Front Wheel Speed Sensors and Rings
GM237532Courtesy of GENERAL MOTORS CORP.
Callout Component Name
1 Front Wheel Speed Sensor
2 Front Wheel Speed Sensor Ring
Fig 4: Rear Wheel Speed Sensors and Rings
GM237536Courtesy of GENERAL MOTORS CORP.
Callout Component Name
1 Rear Wheel Speed Sensor
2 O-Ring
3 Brake Drum
4 Rear Hub and Bearing Assembly
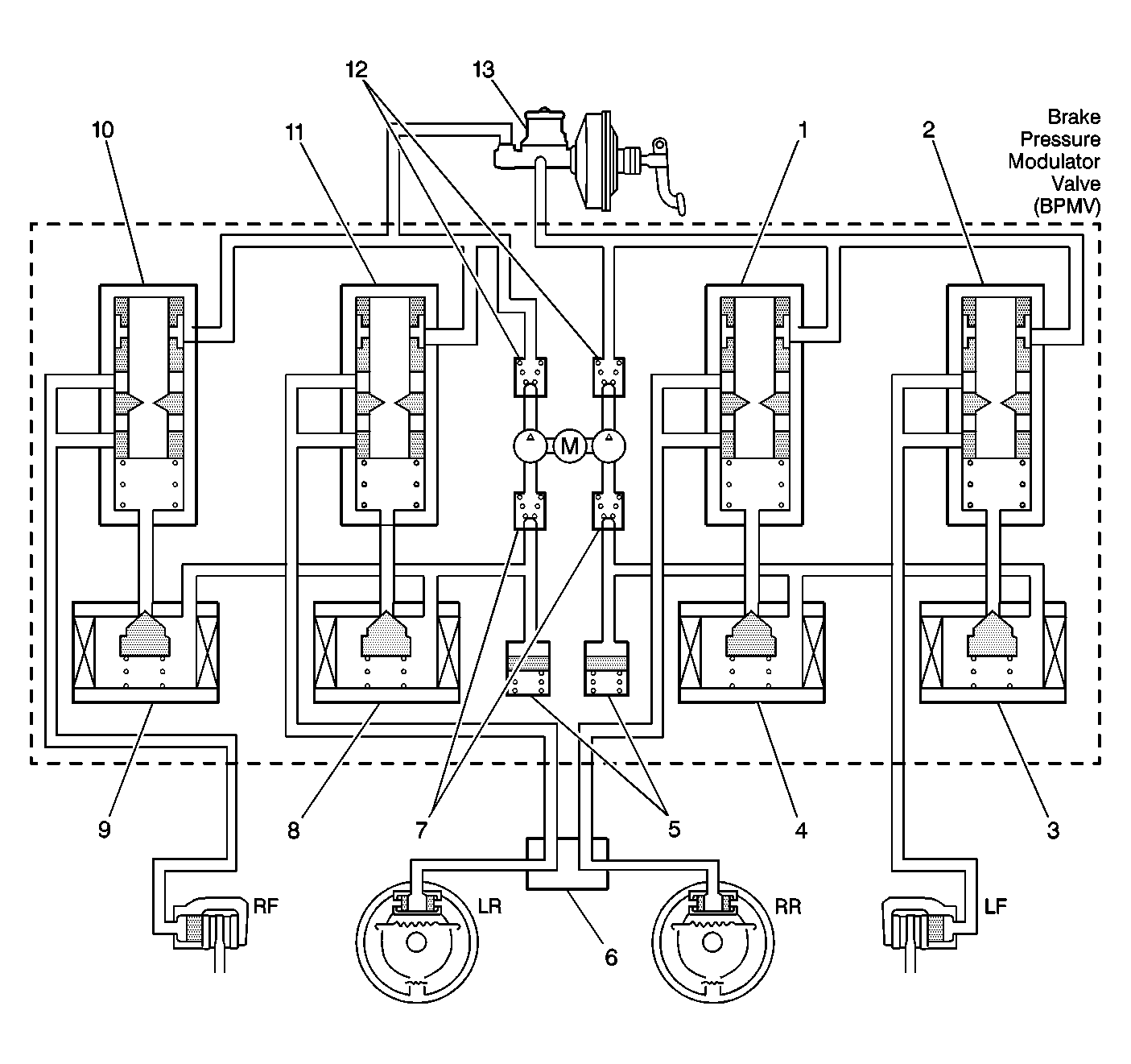
Fig 5: Normal Braking Mode
GM236979Courtesy of GENERAL MOTORS CORP.
Callout Component Name
1 Right Rear Flow Control Valve
2 Left Front Flow Control Valve
3 Left Front ABS Solenoid Valve
4 Right Rear ABS Solenoid Valve
5 Buffer Chamber
6 Proportioning Valve
7 Pump Inlet Check Valves
8 Left Rear ABS Solenoid Valve
9 Right Front ABS Solenoid Valve
10 Right Front Flow Control Valve
11 Left Rear Flow Control Valve
12 Pump Outlet Check Valves
13 Master Cylinder
Fig 6: BPMV Hydraulic Flow (with Traction Control)
GM1491404Courtesy of GENERAL MOTORS CORP.
Callout Component Name
1 Master Cylinder
2 Master Cylinder Pressure Sensor
3 Master Cylinder Solenoid Valve
4 Left Rear Pressure Hold Valve
5 Right Front Pressure Hold Valve
6 Left Rear Pressure Reduction Valve
7 Right Front Pressure Reduction Valve
8 Buffer Chamber
9 Pressure Regulator Valves
10 Right Rear Pressure Reduction Valve
11 Left Front Pressure Reduction Valve
12 Right Rear Pressure Hold Valve
13 Left Front Pressure Hold Valve
14 Master Cylinder Solenoid Valve
15 Pump Check Valves

The vehicle may be equipped with the following braking systems:

The following components are involved in the operation of the above systems: