LEMON Manuals: Even more car manuals for everyone: 1960-2025
Home >> Pontiac >> 2004 >> Vibe Base, FWD, Standard >> Repair and Diagnosis >> External Pages >> Different car >> Section 23 (Lighting Systems) >> Component Locator >> Lighting Systems Component Views
April 5, 2026: LEMON Manuals is launched! Read the announcement.

Lighting Systems Component Views

WARNING: This page is about a different car, the 2004 Pontiac Sunfire and 2004 Chevrolet Cavalier. However, it is still accessible from the selected car via links, so may be relevant.
Fig 1: Headlamp & Fog Lamp Relay Component View
GM924369Courtesy of GENERAL MOTORS CORP.
Callout Component Name
1 Headlamp Left - Right Similar
2 Front Impact Bar
3 Fog Lamp Relay
Fig 2: Front Lamps (Pontiac) Component View
GM902591Courtesy of GENERAL MOTORS CORP.
Callout Component Name
1 Marker Lamp - RF
2 Headlamp - RF
3 Park/Turn Signal Lamp - RF
4 Park/Turn Signal Lamp - LF
5 Headlamp - LF
6 Marker Lamp - LF
7 Fog Lamp - LF
8 Fog Lamp - RF
Fig 3: Front Lamps (Cavalier) Component View
GM902594Courtesy of GENERAL MOTORS CORP.
Callout Component Name
1 Side Marker Lamp - RF
2 Park/Turn Signal Lamp - RF
3 Headlamp - RF
4 Headlamp - LF
5 Park/Turn Signal Lamp - LF
6 Side Marker Lamp - LF
7 Fog Lamp - LF
8 Fog Lamp - RF
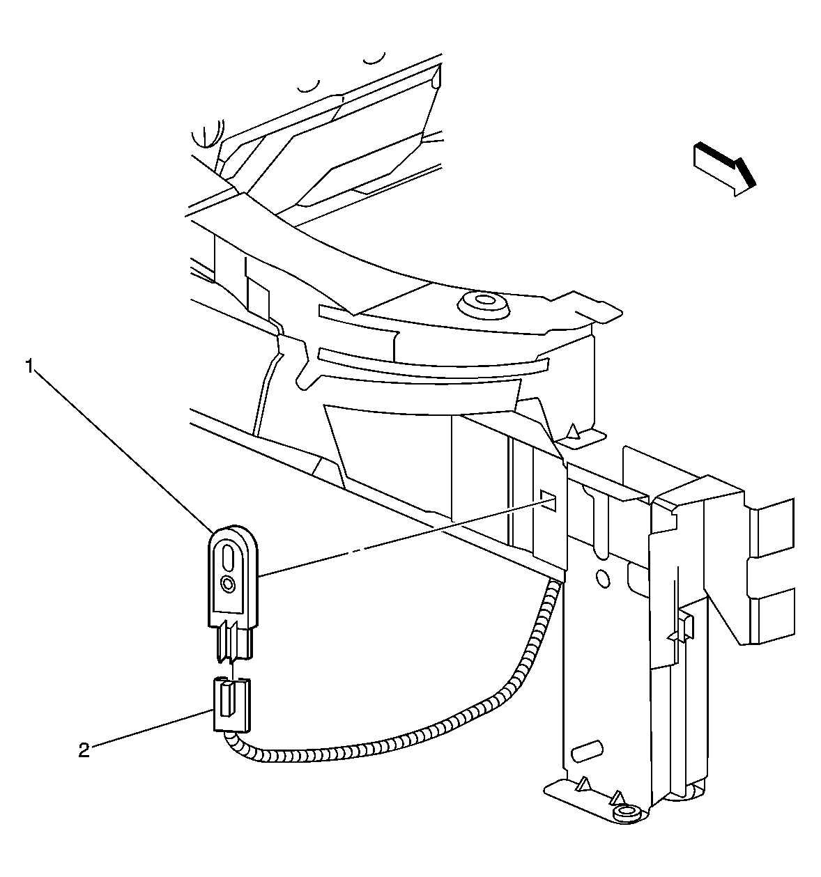
Fig 4: Behind Right Front Headlamp Component View
GM902203Courtesy of GENERAL MOTORS CORP.
Callout Component Name
1 Daytime Running Lamps Connector
2 DRL Resistor Connector
Fig 5: Left Side Of Instrument Panel Component View
GM600093Courtesy of GENERAL MOTORS CORP.
Callout Component Name
1 Traction Control Switch Connector
2 Ignition Switch
3 Traction Control/Fog/I/P Dimmer Switch Assembly
4 I/P Dimmer Switch Connector
5 Fog Lamp Switch Connector
Fig 6: Steering Column Components Component View
GM600090Courtesy of GENERAL MOTORS CORP.
Callout Component Name
1 Wiper/Washer Switch Connector
2 Passlock™ Sensor Connector
3 Hazard Flasher Switch
4 Wiper/Washer Switch
5 Turn Signal/Multifunction Switch
6 Turn Signal/Multifunction Switch Connectors
7 Cruise Control ON/OFF Switch Connector
Fig 7: LR Of Engine Compartment & Brake Pedal Components Component View
GM597183Courtesy of GENERAL MOTORS CORP.
Callout Component Name
1 Brake Fluid Level Switch
2 Electronic Brake Control Module (EBCM)
3 Turn Signal/Hazard Flasher Module
4 Stop Lamp Switch
Fig 8: Headliner Component View
GM577931Courtesy of GENERAL MOTORS CORP.
Callout Component Name
1 Courtesy Reading Lamp - Right
2 Courtesy Reading Lamp Switch - Right
3 C202
4 Courtesy Reading Lamp Switch - Left
5 Courtesy Reading Lamp - Left
6 Dome Lamp Assembly
Fig 9: Rearview Mirror Lamps Component View
GM577933Courtesy of GENERAL MOTORS CORP.
Callout Component Name
1 Rearview Mirror Reading Lamps
Fig 10: Under Center Console Component View
GM600094Courtesy of GENERAL MOTORS CORP.
Callout Component Name
1 Shift Indicator Lamp
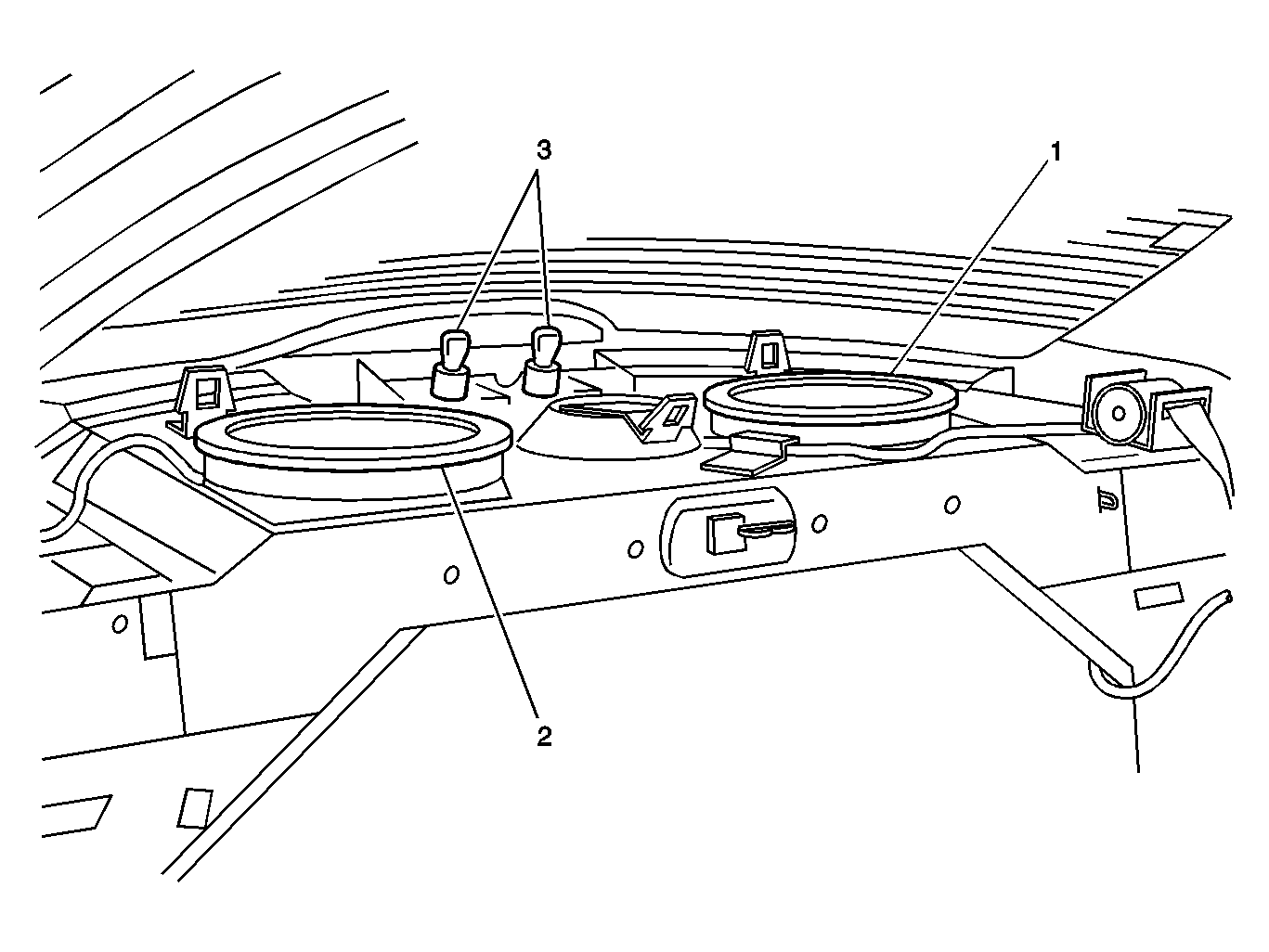
Fig 11: Rear Package Shelf - Speakers & CHMSL Component View
GM793695Courtesy of GENERAL MOTORS CORP.
Callout Component Name
1 Left Rear Speaker
2 Right Rear Speaker
3 Center High Mounted Stop Lamp-Chevrolet (-T43)
Fig 12: Rear Compartment Lamp Component View
GM793715Courtesy of GENERAL MOTORS CORP.
Callout Component Name
1 Rear Compartment Lamp
Fig 13: Rear Lamps (Pontiac) Component View
GM902551Courtesy of GENERAL MOTORS CORP.
Callout Component Name
1 Center High Mounted Stop Lamp (CHMSL)
2 Stop/Turn Lamp - Right
3 Backup Light - RR
4 License Lamp
5 Backup Light - LR
6 Stop/Turn Lamp - Left
7 Marker Lamp - LR, RR Similar
Fig 14: Rear Lamps (Cavalier) Component View
GM902593Courtesy of GENERAL MOTORS CORP.
Callout Component Name
1 Stop/Turn Signal Lamp - LR
2 Backup Lamp - LR
3 Center High Mounted Stop Lamp (CHMSL)
4 Backup Lamp - RR
5 Stop/Turn Signal Lamp - RR
6 License Lamp