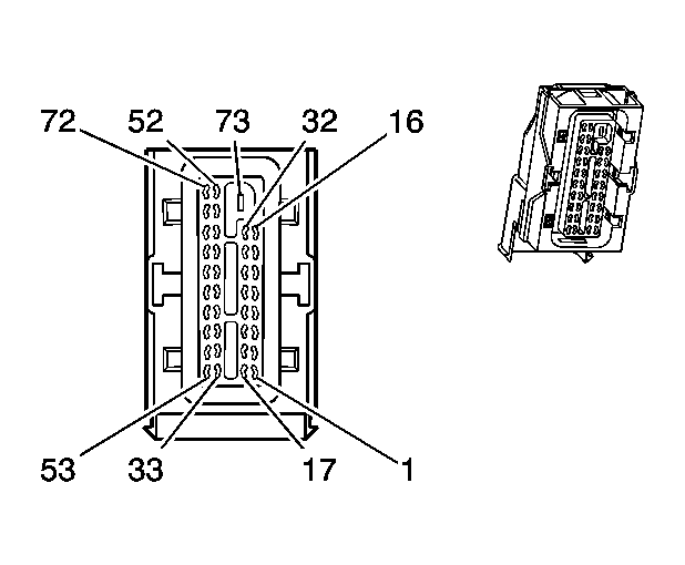
Engine Control Module (ECM) Connector End Views
Engine Control Module (ECM) C1
| Connector Part Information |
|
||
|---|---|---|---|
| Pin | Wire Color | Circuit No. | Function |
| 1 | TN/BK | 2500 | High Speed GMLAN Serial Data Bus+ |
| 2 | TN | 2501 | High Speed GMLAN Serial Data Bus- |
| 3 | - | - | Not Used |
| 4 | BN/WH | 419 | Check Engine Indicator Lamp Output |
| 5-6 | - | - | Not Used |
| 7 | BN | 1271 | Electronic Throttle Pedal Position Return 1 |
| 8 | PU | 1272 | Electronic Throttle Pedal Position Return 2 |
| 9 | - | - | Not Used |
| 10 | BN | 5069 | Engine Control Relay Coil Control |
| 11-12 | - | - | Not Used |
| 13 | YE | 447 | Starter Relay Output-Coil |
| 14 | PK | 439 | Ignition 1 Voltage |
| 15-17 | - | - | Not Used |
| 18 | YE | 1843 | Accessory Voltage |
| 19 | OG | 300 | Ignition 3 Voltage |
| 20 | OG/BK | 740 | Battery Positive Voltage |
| 21 | PU/WH | 5197 | VSS Signal |
| 22 | BU | 1161 | Electronic Throttle Pedal Position Signal 1 |
| 23 | - | - | Not Used |
| 24 | GN | 890 | Fuel Tank Pressure Sensor Signal |
| 25 | - | - | Not Used |
| 26 | GN/BK | 380 | A/C Refrigerant Pressure Sensor Signal |
| 27-28 | - | - | Not Used |
| 29 | TH | 1274 | Electronic Throttle Pedal Position 5-Volt Reference 2 |
| 30 | GN | 2700 | A/C Refrigerant Pressure Sensor Signal 5-Volt Reference |
| 31 | GY | 2709 | Fuel Tank Pressure Sensor 1, 5-Volt Reference |
| 32 | BU/RD | 20 | Stop Lamp Switch Signal |
| 33-34 | - | - | Not Used |
| 35 | WH/BK | 1164 | Electronic Throttle Pedal Position 5 Volt Reference 1 |
| 36 | OG/BK | 335 | Low Speed Cooling Fan Relay Control |
| 37 | PU | 30 | Fuel Gage Sensor Signal |
| 38 | GY | 847 | Extended Travel Brake Switch Signal |
| 39-40 | - | - | Not used |
| 41 | L-BU | 1162 | Electronic Throttle Pedal Position 2 |
| 42 | YE | 1652 | Reverse Lockout Solenoid Control |
| 43 | PU/WH | 379 | CPP Switch Signal |
| 44 | - | - | Not Used |
| 45 | GN/WH | 465 | Fuel Pump Relay Feed-Coil |
| 46 | BN | 86 | Cruise Control Release Signal |
| 47 | - | - | Not Used |
| 48 | BN | 121 | Tachometer Signal |
| 49-50 | - | - | Not Used |
| 51 | GN/BU | 275 | Park/Neutral Position Switch Park Signal |
| 52 | PU | 5 | Crank Voltage |
| 53-54 | - | - | Not Used |
| 55 | TN | 5514 | A/C Refrigerant Pressure Sensor Signal |
| 56 | BU/WH | 473 | High Speed Cooling Fan Relay Control |
Engine Control Module (ECM) C2
| Connector Part Information |
|
||
|---|---|---|---|
| Pin | Wire Color | Circuit No. | Function |
| 1 | L-GN/RD | 3113 | HO2S Bank 2 Sensor 1 Heater Control |
| 2 | BK/WH | 3212 | HO2S Bank 1 Sensor 1 Heater Control |
| 3 | - | - | Not Used |
| 4 | L-GN | 878 | Fuel Injector 8 Control |
| 5 | BU | 1744 | Fuel Injector 1 Control |
| 6 | GN | 1745 | Fuel Injector 2 Control |
| 7 | PK/BK | 877 | Fuel Injector 7 Control |
| 8 | BN/YE | 844 | Fuel Injector 4 Control |
| 9 | PU | 1746 | Fuel Injector 3 Control |
| 10 | GY | 845 | Fuel Injector 5 Control |
| 11-12 | - | - | Not Used |
| 13 | YE | 846 | Fuel Injector 6 Control |
| 14 | L-BU/BK | 574 | Low Reference |
| 15 | RD/WH | 632 | Low Reference |
| 16 | BN | 2129 | Low Reference |
| 17-19 | - | - | Not Used |
| 20 | BK | 469 | MAP Sensor-Return |
| 21 | GN | 470 | Low Reference |
| 22-23 | - | - | Not Used |
| 24 | BN/WH | 331 | Engine Oil Pressure Signal |
| 25 | - | - | Not Used |
| 26 | BN | 633 | CMP Sensor |
| 27-28 | - | - | Not Used |
| 29 | PU | 486 | Throttle Position Sensor 2 Signal |
| 30 | - | - | Not Used |
| 31 | GN | 485 | Throttle Position Sensor 1 Signal |
| 32-33 | - | - | Not Used |
| 35 | PU/WH | 2704 | MAP Sensor 5-Volt Reference |
| 36 | BN/WH | 1704 | Low Reference |
| 37 | BU/YE | 596 | Reference Voltage 5-Volt Reference |
| 38-40 | - | - | Not Used |
| 41 | L-BU/BK | 1688 | 5-Volt Reference |
| 42 | - | - | Not Used |
| 43 | L-BU/WH | 2867 | 12-Volt Reference Voltage |
| 44 | WH/BK | 631 | Low Coolant Level Indicator Signal |
| 45 | GY | 23 | Generator Turn On Signal |
| 46 | L-GN | 432 | MAP Sensor Signal |
| 47 | - | - | Not Used |
| 48 | PU | 1665 | HO2S High Signal Bank 1 Sensor 1 |
| 49 | BU/BK | 1664 | HO2S Low Signal Bank 1 Sensor 1 |
| 50 | GN/YE | 428 | EVAP Canister Purge Solenoid Control |
| 51 | GY | 1666 | HO2S High Signal Bank 2 Sensor 1 |
| 52 | GY/BK | 2761 | Low Reference |
| 53 | YE | 2127 | Ignition Coil 7 Control |
| 54 | WH | 1310 | EVAP Canister Vent Solenoid Control |
| 55 | YE | 410 | ECT Sensor Signal 5-Volt Reference |
| 56 | OG | 225 | Generator Field Duty Cycle Signal |
| 57 | L-GN | 2126 | Ignition Coil 6 Control |
| 58 | WH | 2124 | Ignition Coil 4 Control |
| 59 | GN | 2125 | Ignition Coil 5 Control |
| 60 | BN | 582 | TAC Motor Control-2 |
| 61 | BU | 2123 | Ignition Coil 3 Control |
| 62 | BU | 573 | CKP Sensor Signal |
| 63 | YE | 581 | TAC Motor Control-1 |
| 64 | PU | 2130 | Low Reference |
| 65 | L-BU | 2128 | Ignition Coil 8 Control |
| 66 | YE/BK | 2122 | Ignition Coil 2 Control |
| 67 | - | - | Not Used |
| 68 | BU | 496 | Knock Sensor 1 Signal |
| 69 | GY | 2303 | Knock Sensor 1 Return |
| 70 | GY/BK | 1667 | HO2S Low Signal Bank 2 Sensor 1 |
| 71 | GY | 1716 | Knock Sensor 2 Return |
| 72 | L-BU | 1876 | Knock Sensor 2 Signal |
| 73 | BK/RD | 450 | Ground |
Engine Control Module (ECM) C3
| Connector Part Information |
|
||
|---|---|---|---|
| Pin | Wire Color | Circuit No. | Function |
| 1 | - | - | Not Used |
| 2 | L-BU | 3223 | HO2S Bank 1 Sensor 2 Heater Control |
| 3 | RD/WH | 3122 | HO2S Bank 2 Sensor 2 Heater Control |
| 4-10 | - | - | Not Used |
| 11 | BN/WH | 492 | MAF Sensor Signal |
| 12-17 | - | - | Not Used |
| 18 | BN/RD | 1669 | HO2S Low Signal Bank 1 Sensor 2 |
| 19 | PU/WH | 1668 | HO2S High Signal Bank 1 Sensor 2 |
| 20 | PU/BK | 1670 | HO2S High Signal Bank 2 Sensor 2 |
| 21 | BN/BU | 1671 | HO2S Low Signal Bank 2 Sensor 2 |
| 22 | OG/BK | 1786 | Park/Neutral Signal |
| 23 | - | - | Not Used |
| 24 | BK | 2759 | Low Reference |
| 25-33 | - | - | Not Used |
| 34 | BK | 472 | IAT Sensor Signal |
| 35-42 | - | - | Not Used |
| 44 | BN/OG | 401 | VSS Low Signal |
| 45 | BU/WH | 400 | VSS High Signal |
| 46-47 | - | - | Not Used |
| 48 | GY | 587 | Skip Shift Solenoid Control |
| 49 | BK | 2759 | Low Reference |
| 50 | - | - | Not Used |
| 51 | L-GN/BK | 459 | A/C Compressor Clutch Relay Control |
| 52-56 | - | - | Not Used |