LEMON Manuals: Even more car manuals for everyone: 1960-2025
Home >> Pontiac >> 2005 >> GTO Automatic >> Repair and Diagnosis >> External Pages >> Different car >> Section 5 (Lighting Systems) >> Component Locator >> Lighting Systems Component Views
April 5, 2026: LEMON Manuals is launched! Read the announcement.

Lighting Systems Component Views

WARNING: This page is about a different car, the 2005 Saturn L300. However, it is still accessible from the selected car via links, so may be relevant.
Fig 1: Identifying Lighting System Components At Left Front Of Engine Compartment
GM1335252Courtesy of GENERAL MOTORS CORP.
Callout Component Name
1 Daytime Running Lamp (DRL) Resistor
2 G103
Fig 2: Identifying Interior Lighting Components
GM1253892Courtesy of GENERAL MOTORS CORP.
Callout Component Name
1 Headlamp/Turn Signal Switch
2 Instrument Panel Cluster (IPC)
3 Vanity Lamps
4 Courtesy/ Reading Lamps
5 Dome Lamp
6 Rear Compartment Lamp
7 Tail Lamp Assembly- Right
8 License Lamp
9 Tail Lamp Assembly- Left
10 Radio
11 Courtesy Lamp- LR Door (RR Similar)
12 Electronic PRNDL Module
13 Cigar Lighter
14 Courtesy Lamp- Driver Door (Front Passenger Similar)
15 Dimmer/ Rear Compartment Lid Release Switch
Fig 3: Identifying I/P Harness Components
GM1253895Courtesy of GENERAL MOTORS CORP.
Callout Component Name
1 Radio
2 Right Heated Seat/Traction Switch
3 Hazard Switch
4 Left Heated Seat/Fog Lamp Switch
5 Passlock Sensor
6 Ambient Light Sensor
7 Ignition Lock Cylinder Solenoid
8 Windshield Wiper/Washer Switch
9 Ignition Switch C1
10 Headlamp/Turn Signal Switch
11 Ignition Switch C2
12 Inflatable Restraint Steering Wheel Module Coil C4
13 Instrument Panel Cluster (IPC)
14 Dimmer/Rear Compartment Lid Release Switch
15 Wheel Speed Conditioner Module
16 Cruise/ Brake Switch
17 Fuse Block - I/P - Left
18 C207
19 Data Link Connector (DLC)
20 C215
21 Accelerator Pedal Position (APP) Sensor
22 Cruise Control Module
23 C215
24 C205
25 I/P Compartment Lamp
26 Body Control Module (BCM)
27 C204 (w/o UE1)
28 C204 (w/ UE1)
29 Fuse Block - I/P - Right
30 C200 Body Harness Side
31 C200 Headliner Harness Side
32 Inflatable Restraint I/P Module
Fig 4: Identifying Cruise Control Components
GM1254319Courtesy of GENERAL MOTORS CORP.
Callout Component Name
1 Cruise Set/Resume Switch
2 Cruise On/Off Switch
3 Stop Lamp Switch
4 Cruise Brake Switch
5 Cruise Clutch Switch (M/T) (Not Used)
6 Cruise Control Module (CCM) (Not Used)
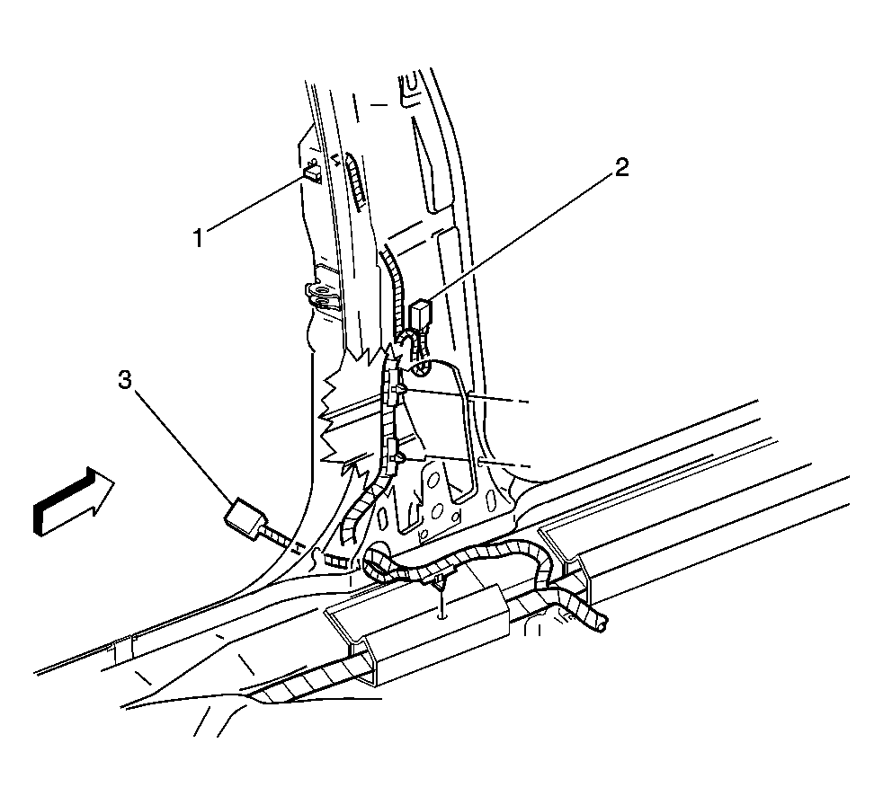
Fig 5: Identifying Left Side Of Passenger Compartment Components
GM1335164Courtesy of GENERAL MOTORS CORP.
Callout Component Name
1 Door Jamb Switch - LR - RR Similar
2 Inflatable Restraint Side Impact Sensor (SIS) - Left Connector - Right Similar)
3 C800 - C700 Similar
Fig 6: Identifying Exterior Lighting Components
GM1256254Courtesy of GENERAL MOTORS CORP.
Callout Component Name
1 Tail Lamp Assembly-Left (Right Similar)
2 Park/Turn Signal Lamp-LF
3 Left Headlamp Assembly
4 Fog Lamp-Left
5 Fog Lamp-Right
6 Horn (Behind Fascia)
7 Right Headlamp Assembly
Fig 7: Identifying Instrument Panel Component Locations
GM1256255Courtesy of GENERAL MOTORS CORP.
Callout Component Name
1 Ambient Light Sensor
2 Windshield Wiper/Washer Switch
3 Left Heated Seat/Fog Lamp Switch
4 Hazard Switch
5 Right Heated Seat/Traction Switch
6 Radio
7 HVAC Control Module
8 Headlamp/Turn Signal Switch
9 Dimmer/Rear Compartment Lid Release Switch
10 Instrument Panel Cluster (IPC)
11 Ignition Lock Cylinder Solenoid