LEMON Manuals: Even more car manuals for everyone: 1960-2025
Home >> Pontiac >> 2006 >> Pursuit (CANADA) L4-2.2L >> Repair and Diagnosis >> Powertrain Management >> Computers and Control Systems >> Relays and Modules - Computers and Control Systems >> Engine Control Module >> Diagrams >> Diagram Information and Instructions >> Passenger Car Zoning
April 5, 2026: LEMON Manuals is launched! Read the announcement.

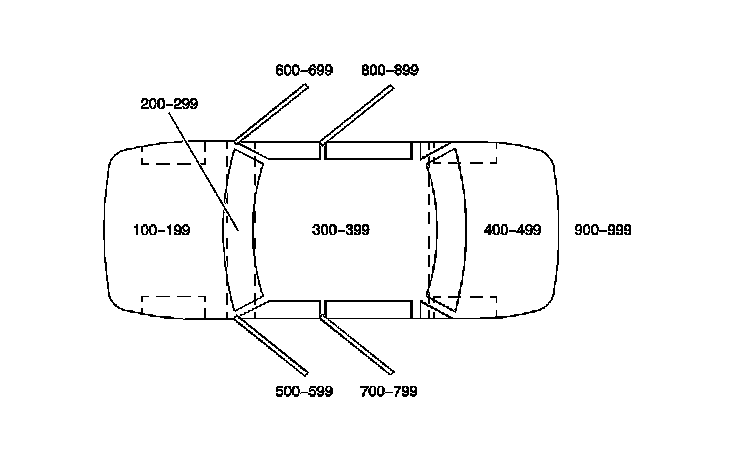
Passenger Car Zoning



PASSENGER CAR ZONING







All grounds, in-line connectors, pass-through grommets, and splices have identifying numbers that correspond to where they are located in the vehicle. The following table explains the numbering system.