LEMON Manuals: Even more car manuals for everyone: 1960-2025
Home >> Pontiac >> 2007 >> G6 Base, 2.4 B >> Repair and Diagnosis >> External Pages >> Different car >> Section 2193 (Wiring Systems And Power Management - Component Connector End Views (1 Of 7)) >> Component Connector End Views >> K42 Pedestrian Impact Detection Control Module X2 (B3T)
April 5, 2026: LEMON Manuals is launched! Read the announcement.

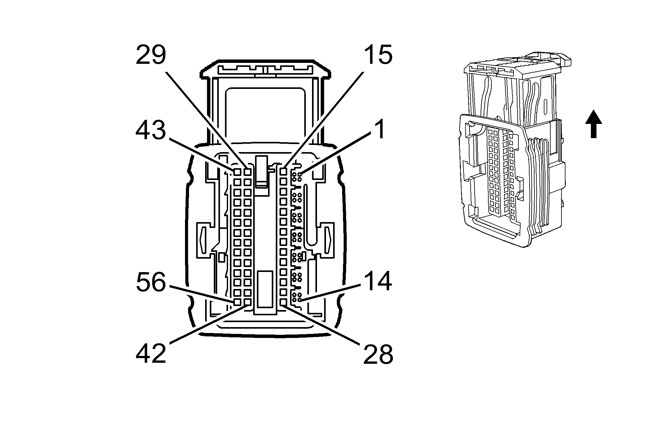
K42 Pedestrian Impact Detection Control Module X2 (B3T)

WARNING: This page is about a different car, the 2013 Cadillac CTS. However, it is still accessible from the selected car via links, so may be relevant.
GM1974973
Connector Part Information
  • Harness Type: Instrument Panel
  • OEM Connector: 1452636-4
  • Service Connector: 19178153
  • Description: 56-Way F (BK)
Terminal Part Information

Terminal Type ID Terminated Lead Diagnostic Test Probe Terminal Removal Tool Service Terminal Tray Core Crimp Insulation Crimp
I 13505344 J-35616-64B (L-BU) J-38125-12A 1411560-2 25 E C
K42 Pedestrian Impact Detection Control Module X2 (B3T)

Pin Size Color Circuit Function Terminal Type ID Option
1-14 - - - Not Occupied - -
15 0.5 RD/WH 2740 Battery Positive Voltage I -
16 0.35 BK/WH 651 Ground I -
17-28 - - - Not Occupied - -
29 0.35 L-BU 5986 Serial Data Communication Enable I -
30 0.35 YE 2160 Front End Discriminating Sensor Signal I -
31 0.35 GY/BK 2260 SIR Forward Sensor Low Reference I -
32-38 - - - Not Occupied - -
39 0.35 YE 1834 Forward Discriminating Sensor Signal I -
40 0.35 BK 407 Low Reference I -
41 0.35 GY 349 Discriminating Sensor - Left - Signal I -
42 0.35 D-GN/WH 6620 Left Middle Side Impact Sensing Module Signal I -
43-56 - - - Not Occupied - -