LEMON Manuals: Even more car manuals for everyone: 1960-2025
Home >> Pontiac >> 2007 >> Grand Prix V8-5.3L >> Repair and Diagnosis >> Diagrams >> Connector Views >> Electronic Brake Control Module
April 5, 2026: LEMON Manuals is launched! Read the announcement.

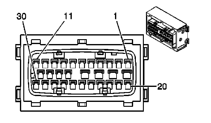
Electronic Brake Control Module



Antilock Brake System Connector End Views







Electronic Brake Control Module C1 (EBCM):