LEMON Manuals: Even more car manuals for everyone: 1960-2025
Home >> Pontiac >> 2007 >> Solstice Base, Standard >> Repair and Diagnosis (Single Page) >> Engine Performance >> System >> Engine Controls & Fuel - 2.4L - Introduction (2 Of 2) >> Component Locator >> Engine Control Module Connector End Views >> Engine Control Module (ECM) C2
April 5, 2026: LEMON Manuals is launched! Read the announcement.

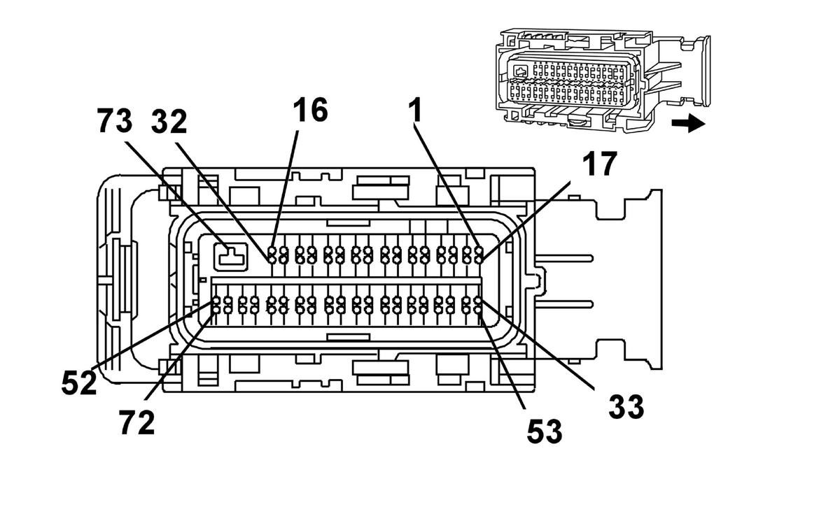
Engine Control Module (ECM) C2

Fig 1: ECM C2 Connector End View
GM1590592Courtesy of GENERAL MOTORS CORP.
ECM C2 Connector Part Information

Connector Part Information 
  • OEM: 34566-2503
  • Service: 88988931
  • Description: 73-Way F 0.64 Receptacle 2.8 Series, Sealed (BK)
Terminal Part Information 
  • Pins: 1, 17, 20, 23, 27, 33, 35, 36, 39, 42, 43, 53, 56, 59, 62, 63, 67
  • Terminal/Tray: 33467-0003/23
  • Core/Insulation Crimp: H/H
  • Release Tool/Test Probe: J-38125-213/J-35616-64B (L-BU)
  • Pins: 2, 5, 8, 9, 11, 14, 29, 30, 32, 44, 46, 48, 50, 64, 66, 68, 69, 71, 72
  • Terminal/Tray: 33467-0005/23
  • Core/Insulation Crimp: Pins: 2, 5, 8, 9, 11, 14, 29, 30, 32, 44, 46, 48, 50, 64, 66, 68, 69, 71, 72 J/J
  • Core/Insulation Crimp: Pins: 11, 13 K/K
  • Release Tool/Test Probe: J-38125-213/J-35616-64B (L-BU)
  • Pins: 73
  • Terminal/Tray: 7116-4152-02/9
  • Core/Insulation Crimp: 2/5
  • Release Tool/Test Probe: 12094430/J-35616-35 (VT)
ECM C2 Connector Terminal Identification

Pin Wire Color Circuit No. Function
1 PU 2121 IC 1 Control
2 TN/WH 3111 HO2S Low Reference Sensor 1
3 PU/WH 3110 HO2S Reference Voltage Sensor 1
4 PU/WH 1668 HO2S High Signal Sensor 2
5 TN/WH 1669 HO2S Low Signal Sensor 2
6-7 - - Not Used
8 D-BU 496 Knock Sensor Signal
9 GY 1716 Knock Sensor Signal
10 - - Not Used
11 YE 581 TAC Motor Control - 1
12 BN 582 TAC Motor Control - 2
13 PK/BK 5290 Ignition 1 Voltage
14 PU 5284 Camshaft Phaser Intake Solenoid (1)
15-16 - - Not Used
17 L-BU 2123 IC 3 Control
18-19 - - Not Used
20 GY 5296 Low Reference
21-22 - - Not Used
23 TN 5301 Low Reference
24-26 - - Not Used
27 PU 574 Low Reference
28 - - Not Used
29 TN 2752 Low Reference
30 L-GN 5282 Camshaft Phaser Exhaust Solenoid (1)
31 - - Not Used
32 L-GN/BK 1745 Fuel Injector 2 Control
33 D-GN/WH 2124 IC 4 Control
34 - - Not Used
35 BN 2129 Low Reference
36 YE/BK 5297 5-Volt Reference
37-38 - - Not Used
39 D-BU 5300 5-Volt Reference
40-41 - - Not Used
42 BK 2760 Low Reference
43 L-GN 2867 5-Volt Reference
44 GY 2701 5-Volt Reference
45 - - Not Used
46 TN 2199 Low Reference
47 - - Not Used
48 PK/BK 1746 Fuel Injector 3 Control
49 - - Not Used
50 TN 452 Low Reference
51-52 - - Not Used
53 OG/WH 2122 IC 2 Control
54-55 - - Not Used
56 D-GN 5273 Camshaft Position Exhaust Sensor (1)
57-58 - - Not Used
59 OG 5275 Camshaft Position Intake Sensor (1)
60-61 - - Not Used
62 TN 472 IAT Sensor Signal
63 YE 573 CKP Sensor 1 Signal
64 D-GN 485 TP Sensor Signal
65 - - Not Used
66 PU 486 TP Sensor 2 Signal
67 YE 492 MAF Sensor Signal
68 GY/WH 3113 HO2S Heater Low Control Sensor 1
69 GY/WH 3122 HO2S Heater Low Control Sensor 2
70 - - Not Used
71 L-BU/BK 844 Fuel Injector 4 Control
72 BK 1744 Fuel Injector 1 Control
73 BK/WH 451 Ground