LEMON Manuals: Even more car manuals for everyone: 1960-2025
Home >> Pontiac >> 2007 >> Vibe L4-1.8L >> Repair and Diagnosis >> Powertrain Management >> Computers and Control Systems >> Transmission Position Sensor/Switch >> Service and Repair
April 5, 2026: LEMON Manuals is launched! Read the announcement.

Transmission Position Sensor/Switch: Service and Repair



Park/Neutral Position Switch

Removal Procedure




1. Remove the shift cable retaining clip.
2. Disconnect the cable from the bracket.
3. Remove the shift cable retaining nut, then disconnect the cable from the manual lever.




4. Disconnect the PNP switch electrical connector (1) from the PNP switch.




5. Remove one nut, one lock washer and the manual lever from the manual shaft.
6. Unstake the lock plate (1) behind the manual shaft nut (3).
7. Remove the manual shaft nut and the lock plate from the PNP switch.
8. Remove the 2 bolts and the PNP switch from the transaxle.

Installation Procedure

1. Install the PNP switch to the transaxle. Secure with 2 bolts. Do NOT tighten fully.





Notice: Refer to Fastener Notice.

2. Install a new lock plate (1) and the manual shaft nut (3) onto the PNP switch.

Tighten the manual shaft nut to 5.5 N.m (49 lb in).

3. Temporarily install the manual lever.




4. Turn the lever counterclockwise until it stops, then turn it clockwise 2 notches.
5. Remove the manual lever.




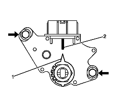
6. Align the groove (1) with the neutral base line (2).
7. Hold the switch in position, then tighten the 2 bolts.

Tighten the Park/Neutral Position (PNP) switch bolts to 5.5 N.m (49 lb in).




8. Stake the lock plate over the manual shaft nut.
9. Install the manual lever onto the manual shaft. Secure the manual lever with one lock washer and nut.

Tighten the manual lever nut to 12.5 N.m (9 lb ft).

10. Install the PNP shift electrical connector to the PNP switch.




11. Install the shift select cable and nut to the manual lever.

Tighten the shift cable retaining nut to 12.5 N.m (9 lbs ft).

12. Install the shift select cable in the retaining bracket (2), then install the clip (3).
13. Apply the parking brake and block the vehicle wheels.
14. With the manual selector in Park position, turn the ignition switch to START and verify that the starter motor operates.
15. Stop the engine and return the ignition switch to the ON position.
16. Move the manual selector from the Park position to the Neutral position and verify that the starter motor operates.
17. Verify that the starter motor DOES NOT operate in D, 2, L or R.