LEMON Manuals: Even more car manuals for everyone: 1960-2025
Home >> Pontiac >> 2008 >> G5 L4-2.2L >> Repair and Diagnosis >> Diagrams >> Components >> Instrument Panel/Center Console Component Views
April 5, 2026: LEMON Manuals is launched! Read the announcement.

Instrument Panel/Center Console Component Views



Instrument Panel/Center Console Component Views

I/P Harness Routing




1 - I/P Carrier
2 - G203
3 - G201
4 - J233
5 - X275
6 - JX200
7 - Data Link Connector (DLC)
8 - X201
9 - X204
10 - Body Control Module (BCM) X4
11 - Body Control Module (BCM) X2
12 - I/P Carrier Trim
13 - Radio Antenna Coax
14 - X200
15 - X210

Interior HVAC Components




1 - HVAC Box Assembly
2 - Blower Motor Resistor
3 - Blower Motor
4 - Recirculation Actuator
5 - Mode Actuator
6 - Air Temperature Actuator

I/P Support - G201 and G203




1 - Air Outlet - Driver
2 - I/P Tie Bracket
3 - Air Outlet - Passenger
4 - I/P Carrier Trim
5 - G203
6 - G201

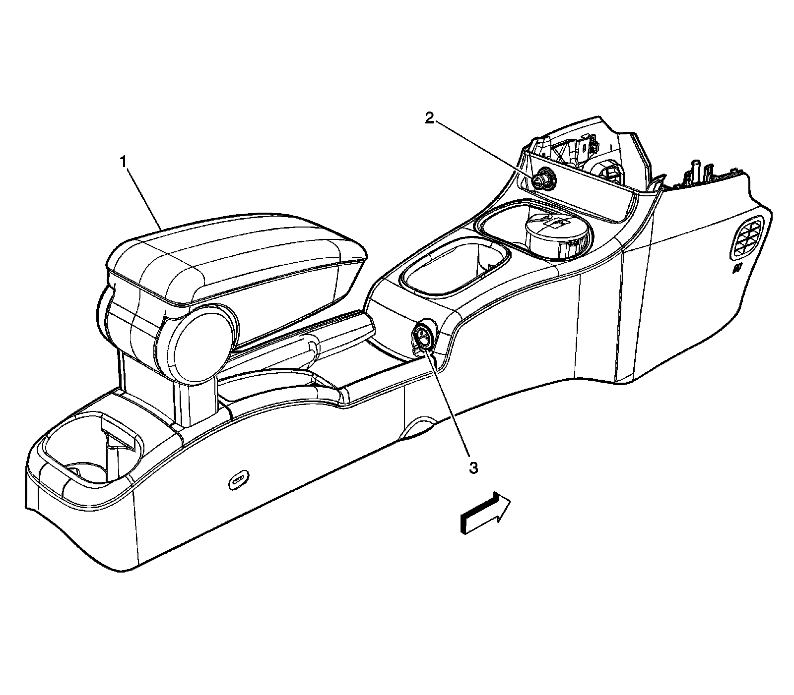
Console Components




1 - Console Armrest
2 - Cigar Lighter (DT4), Auxiliary Power Outlet (- DT4)
3 - Auxiliary Power Outlet - Console




1 - Theft Deterrent Control Module

I/P Components




1 - Instrument Panel Cluster (IPC)
2 - Ambient Light Sensor
3 - Hazard Switch
4 - Radio
5 - Remote Control Door Lock Receiver (RCDLR) (AUO)
6 - Heated Seat Switch - Passenger (KA1)
7 - HVAC Control Module
8 - Body Control Module (BCM)
9 - Heated Seat Switch - Driver (KA1)
10 - I/P Dimmer Switch
11 - Fog Lamp Switch (T37)
12 - Data Link Connector (DLC)
13 - Rear Compartment Lid Release Switch
14 - I/P Trim

Steering Wheel Components - 3-Spoke Wheel




1 - Steering Wheel Controls - Left (K34/UK3)
2 - Steering Wheel Controls - Right (K34/UK3)
3 - Horn Switch