LEMON Manuals: Even more car manuals for everyone: 1960-2025
Home >> Pontiac >> 2008 >> G8 V6-3.6L >> Repair and Diagnosis >> Diagrams >> Connector Views >> Air Bag Control Module
April 5, 2026: LEMON Manuals is launched! Read the announcement.

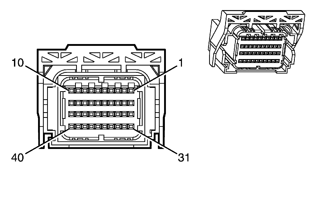
Air Bag Control Module



Component Connector End Views

Inflatable Restraint Sensing and Diagnostic Module (SDM) X1














Inflatable Restraint Sensing and Diagnostic Module (SDM) X2