LEMON Manuals: Even more car manuals for everyone: 1960-2025
Home >> Pontiac >> 2008 >> G8 V6-3.6L >> Repair and Diagnosis >> Diagrams >> Connector Views >> Engine Control Module
April 5, 2026: LEMON Manuals is launched! Read the announcement.

Engine Control Module



Component Connector End Views

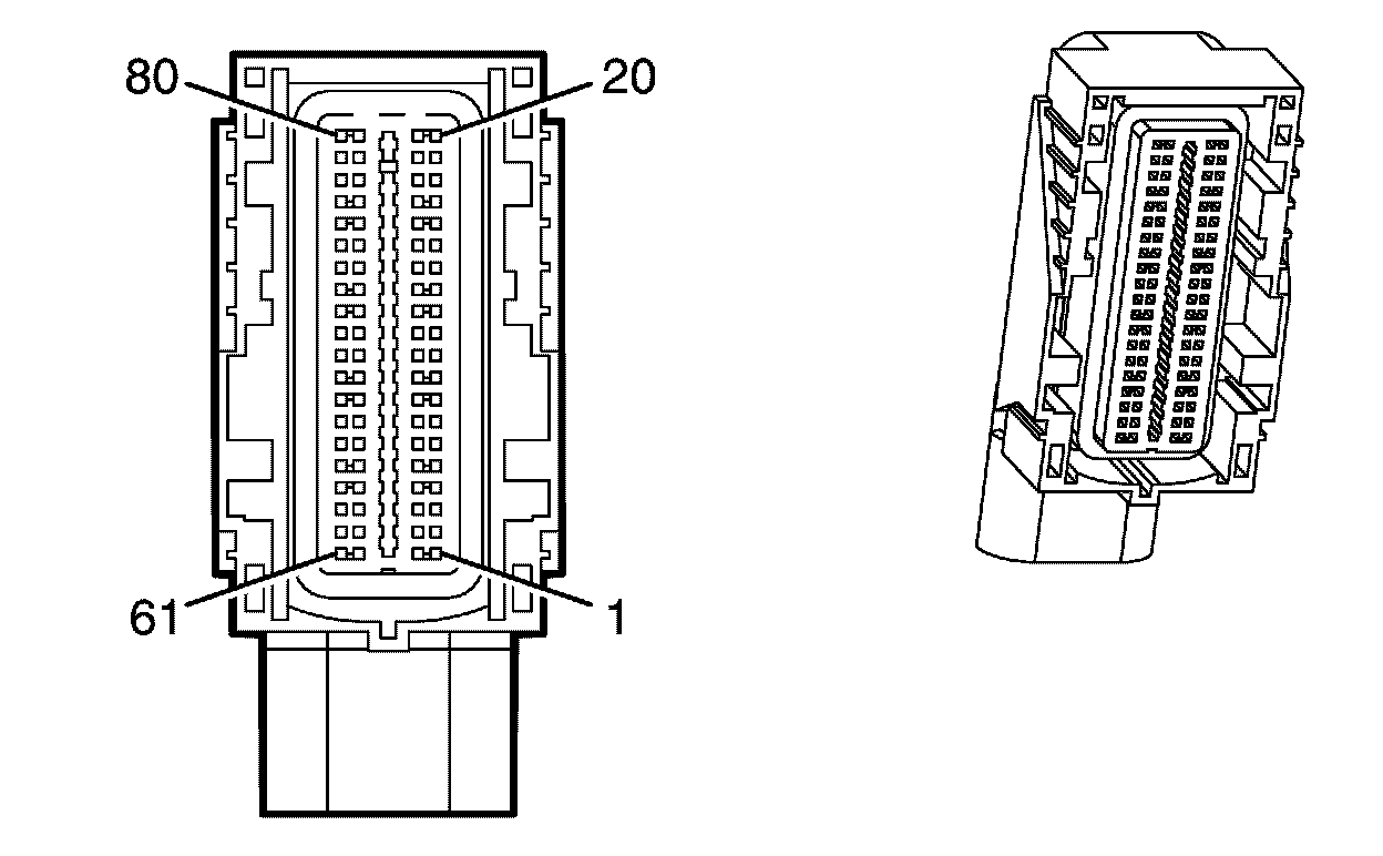
Engine Control Module (ECM) (L76) X1

















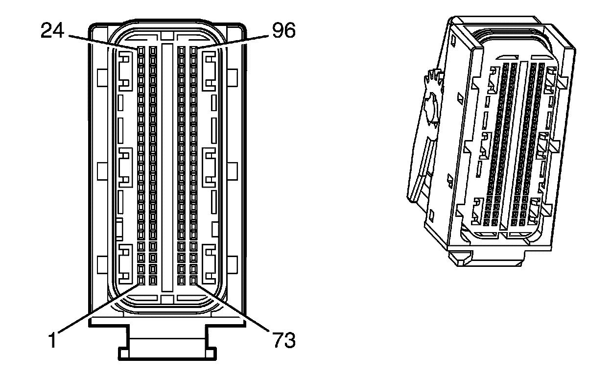
Engine Control Module (ECM) (L76) X2

















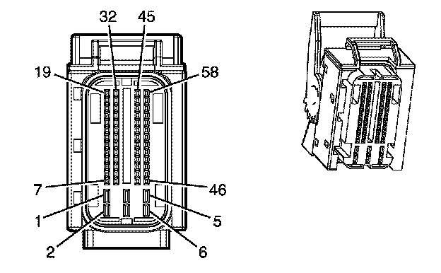
Engine Control Module (ECM) (LY7) X1

















Engine Control Module (ECM) (LY7) X2