LEMON Manuals: Even more car manuals for everyone: 1960-2025
Home >> Pontiac >> 2008 >> G8 V6-3.6L >> Repair and Diagnosis >> Diagrams >> Connector Views >> Power Window Control Module
April 5, 2026: LEMON Manuals is launched! Read the announcement.

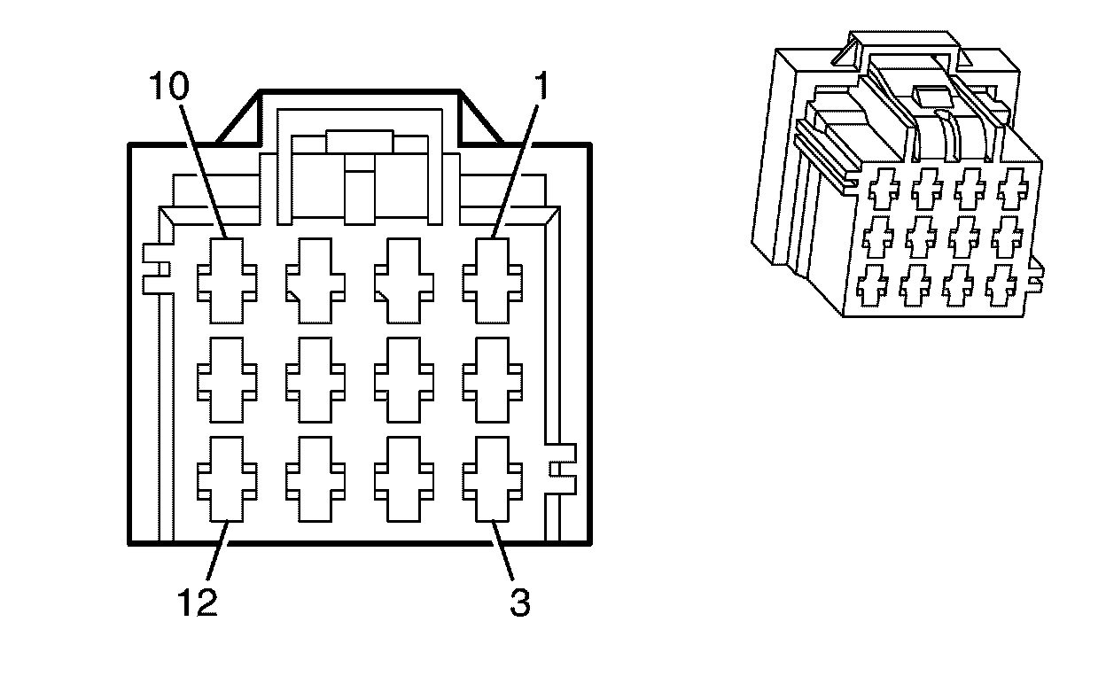
Power Window Control Module



Component Connector End Views

Window Control Module