LEMON Manuals: Even more car manuals for everyone: 1960-2025
Home >> Pontiac >> 2008 >> Grand Prix Base >> Repair and Diagnosis (Single Page) >> Electrical >> Component Locations >> Wiring Systems And Power Management - Component Views & Component Connector End Views >> Component Connector End Views >> Theft LED
April 5, 2026: LEMON Manuals is launched! Read the announcement.

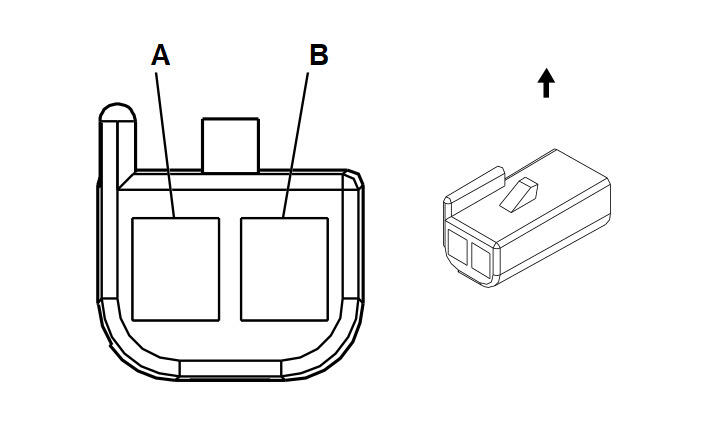
Theft LED

Fig 1: Theft LED Connector End View
GM35451Courtesy of GENERAL MOTORS CORP.
Theft LED

Pin Wire Color Circuit No. Function
A 0.35 BK/WH 1551 Ground
B 0.35 YE 749 Security Indicator Control
Connector Part Information 
  • OEM: 12059251
  • Service: 12101848
  • Description: 2-Way F Metri-Pack 150 Series (RD)
Terminal Part Information 
  • Terminal/Tray: 12064971/5
  • Core/Insulation Crimp: E/C
  • Release Tool/Test Probe: 12094429/J-35616-2A (GY)