LEMON Manuals: Even more car manuals for everyone: 1960-2025
Home >> Pontiac >> 2008 >> Grand Prix Base >> Repair and Diagnosis (Single Page) >> Quick Lookups >> Electrical Component Locations >> Wiring Systems And Power Management - Component Views & Component Connector End Views >> Component Connector End Views >> Generator
April 5, 2026: LEMON Manuals is launched! Read the announcement.

Component Connector End Views: Generator

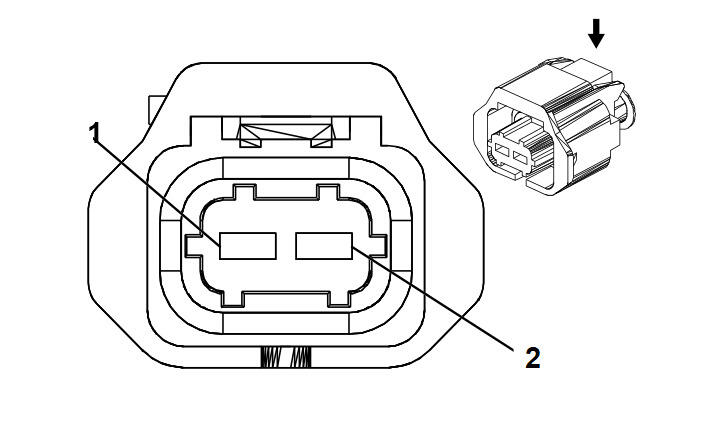
Fig 1: Generator Connector End View
GM1855214Courtesy of GENERAL MOTORS CORP.
Generator

Pin Wire Color Circuit No. Function
1 0.35 RD 225 Generator Turn On Signal
2 0.35 GY 23 Generator Field Duty Cycle Signal
Connector Part Information 
  • OEM: 15397337
  • Service: 88988744
  • Description: 2-Way F Power Timer Series (BK)
Terminal Part Information 
  • Terminal/Tray: See Terminal Repair Kit
  • Core/Insulation Crimp: See Terminal Repair Kit
  • Release Tool/Test Probe: See Terminal Repair Kit