LEMON Manuals: Even more car manuals for everyone: 1960-2025
Home >> Pontiac >> 2008 >> Grand Prix Base >> Repair and Diagnosis (Single Page) >> Quick Lookups >> Electrical Component Locations >> Wiring Systems And Power Management - Component Views & Component Connector End Views >> Component Connector End Views >> Inflatable Restraint Front End Sensor - Right
April 5, 2026: LEMON Manuals is launched! Read the announcement.

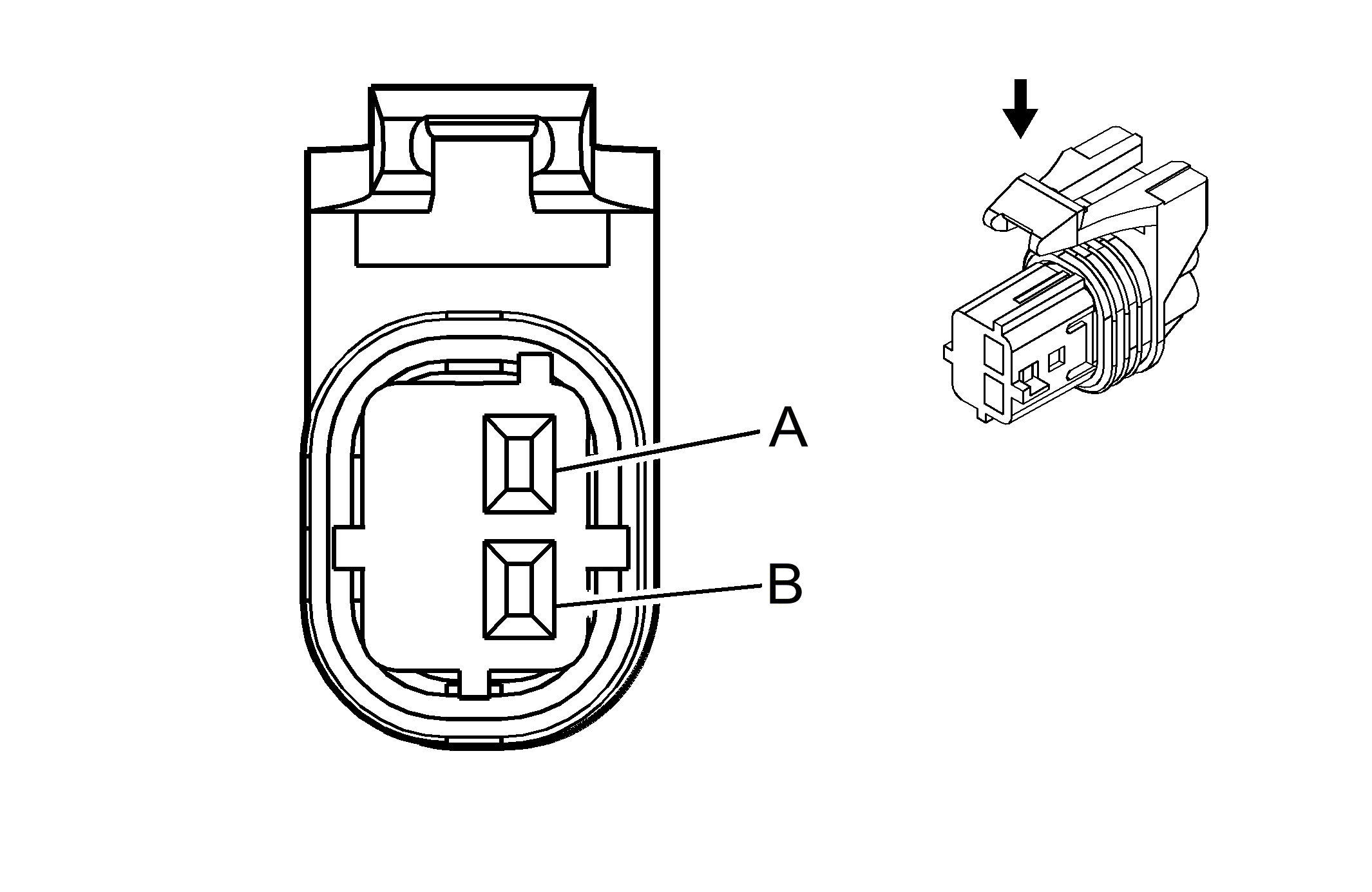
Inflatable Restraint Front End Sensor - Right

Fig 1: Inflatable Restraint Front End Sensor - Right Connector End View
GM684970Courtesy of GENERAL MOTORS CORP.
Inflatable Restraint Front End Sensor - Right

Pin Wire Color Circuit No. Function
A 0.35 PU 2612 Low Reference
B 0.35 WH/BK 2611 Front End Sensor Signal - Right
Connector Part Information 
  • OEM: 15356726
  • Service: 15306362
  • Description: 2-Way F GT 150 Series Sealed (YE)
Terminal Part Information 
  • Terminal: Service with Pigtail
  • Core/Insulation Crimp: N/A
  • Release Tool/Test Probe: N/A