LEMON Manuals: Even more car manuals for everyone: 1960-2025
Home >> Pontiac >> 2008 >> Torrent AWD V6-3.4L >> Repair and Diagnosis >> Diagrams >> Connector Views >> Engine Control Module
April 5, 2026: LEMON Manuals is launched! Read the announcement.

Engine Control Module



Component Connector End Views

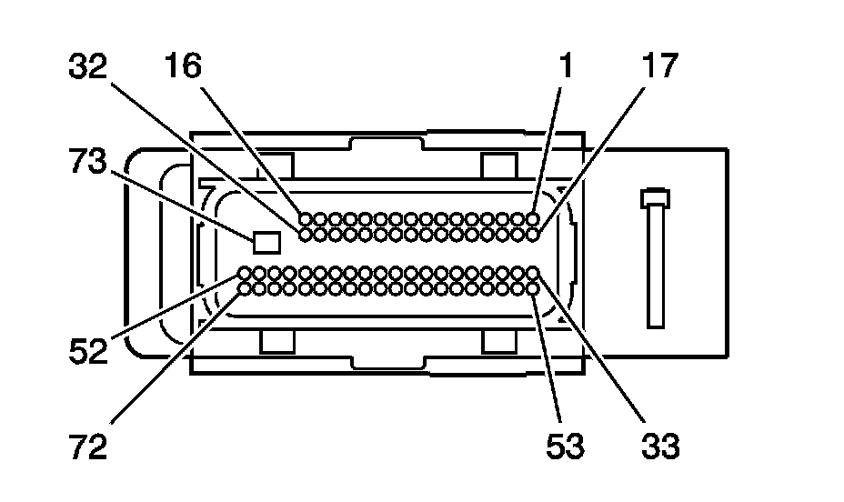
Electronic Control Module (ECM) - X1 (LNJ)









Electronic Control Module (ECM) - X1 (LNJ) (Pin 1 To 37):





Electronic Control Module (ECM) - X1 (LNJ) (Pin 38 To 73):






Electronic Control Module (ECM) - X2 (LNJ)









Electronic Control Module (ECM) - X2 (LNJ) (Pin 1 To 36):





Electronic Control Module (ECM) - X2 (LNJ) (Pin 37 To 80):